授权公布号:CN214819752U
一种拢料斗平板转动式卸料门结构
有效
申请
2020-11-06
申请公布
1970-01-01
授权
2021-11-23
预估到期
2030-11-06
| 申请号 | CN202022539032.2 |
| 申请日 | 2020-11-06 |
| 授权公布号 | CN214819752U |
| 授权公告日 | 2021-11-23 |
| 分类号 | B28C7/16 |
| 分类 | 加工水泥、黏土或石料; |
| 申请人名称 | 青岛新型建设机械有限公司 |
| 申请人地址 | 山东省青岛市城阳区夏庄镇后古镇村(玉皇岭工业园) |
专利法律状态
2021-11-23
授权
状态信息
授权
摘要
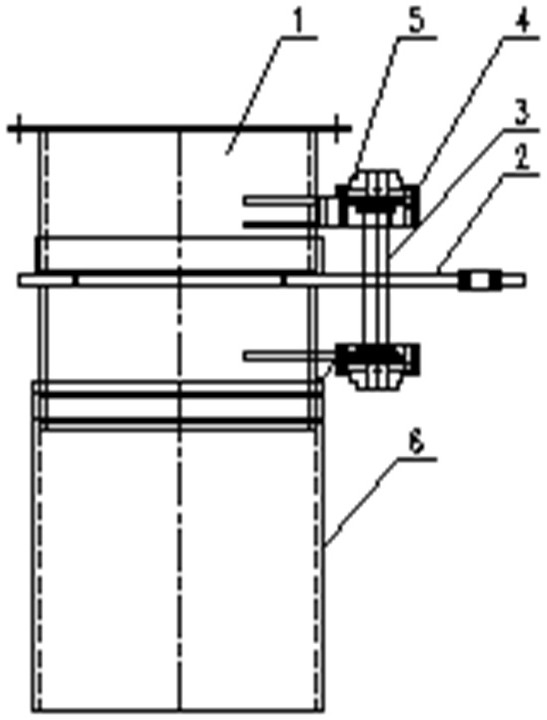
为解决现有拢料斗无卸料门或卸料门结构易故障、易磨损,维护费用高、易漏浆的问题,本实用新型提供一种拢料斗平板转动式卸料门结构,包括门体、门板、门轴、驱动系统、动力缸;所述门体为筒形,与拢料斗底端固定连接,门体内部与拢料斗出料口相通,门体外设有支架;门轴安装在支架上,门轴与门体的轴向平行;门板可旋转地安装在门轴上,门板所在平面与门轴垂直,门板能遮盖住门体筒口内径;动力缸缸体与门体的支架固定连接,动力缸的活塞端与门板固定连接,动力缸与门板的连接点到门轴的距离形成气缸对门板作用力的力臂;所述驱动系统与动力缸连接;其优点在于其结构合理,驱动稳定,门板开启关闭顺畅,有效控制卸料门的生产制作成本,维修点少。


