授权公布号:CN214778094U
一种混凝土搅拌站成品转运用暂存装置
有效
申请
2021-06-09
申请公布
1970-01-01
授权
2021-11-19
预估到期
2031-06-09
| 申请号 | CN202121294206.1 |
| 申请日 | 2021-06-09 |
| 授权公布号 | CN214778094U |
| 授权公告日 | 2021-11-19 |
| 分类号 | B65D88/28;B65D88/66;B65D90/54;B65D90/10 |
| 分类 | 输送;包装;贮存;搬运薄的或细丝状材料; |
| 申请人名称 | 郑州市三强机械有限责任公司 |
| 申请人地址 | 河南省郑州市荥阳市豫龙镇郑上路北侧 |
专利法律状态
2021-11-19
授权
状态信息
授权
摘要
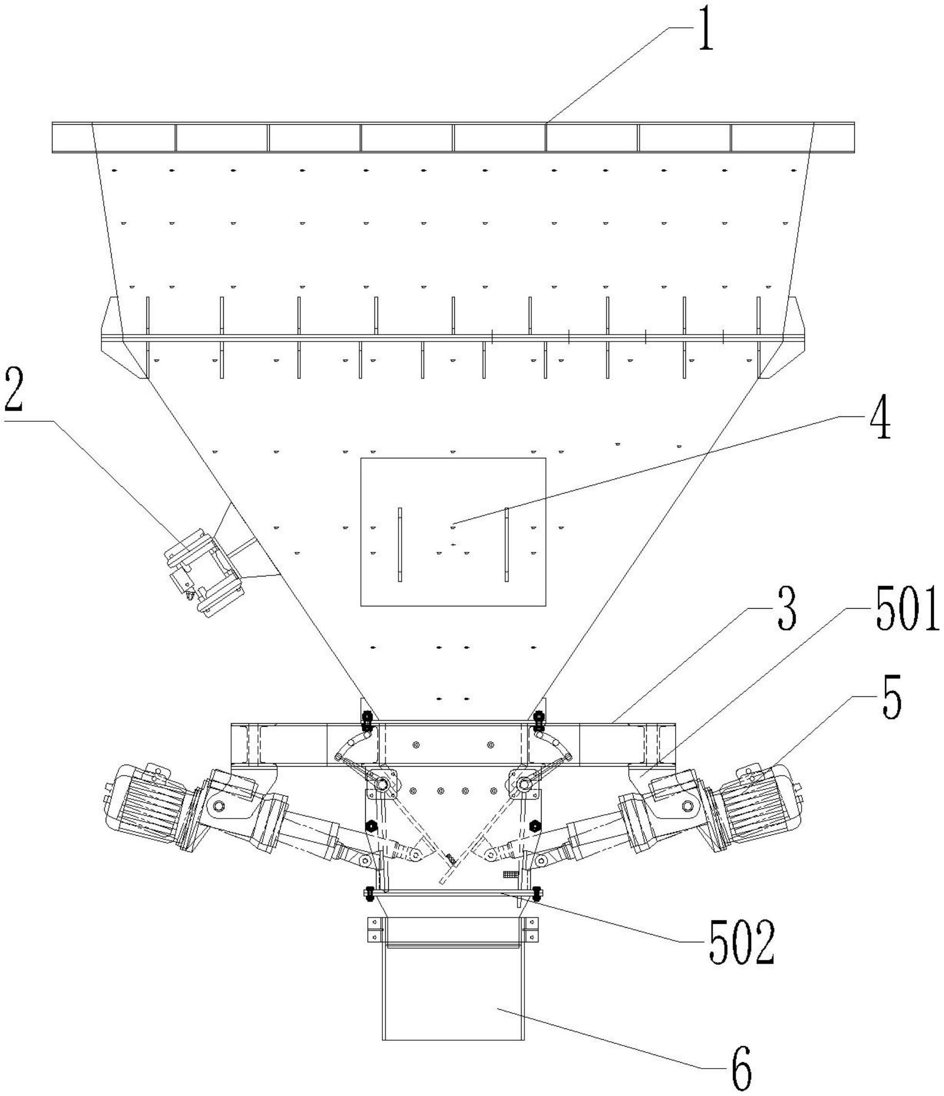
本实用新型公开了一种混凝土搅拌站成品转运用暂存装置,包括料仓本体,所述料仓本体为倒立设置的四方锥型,所述料仓本体顶部设置进料口、底部设置有方形出料口,所述出料口处设置有支架,所述支架上设置有用于控制出料口开合的开合装置,所述料仓本体内壁上设置有衬板,所述料仓本体的外壁上设置有震动电机,大大提高了转运的工作效率,精简了设备结构,减少了占用空间。


