授权公布号:CN214680627U
一种混凝土搅拌站环保用降尘装置
有效
申请
2021-06-11
申请公布
1970-01-01
授权
2021-11-12
预估到期
2031-06-11
| 申请号 | CN202121319593.X |
| 申请日 | 2021-06-11 |
| 授权公布号 | CN214680627U |
| 授权公告日 | 2021-11-12 |
| 分类号 | B01D46/00;B01D46/24 |
| 分类 | 一般的物理或化学的方法或装置; |
| 申请人名称 | 郑州市三强机械有限责任公司 |
| 申请人地址 | 河南省郑州市荥阳市豫龙镇郑上路北侧 |
专利法律状态
2021-11-12
授权
状态信息
授权
摘要
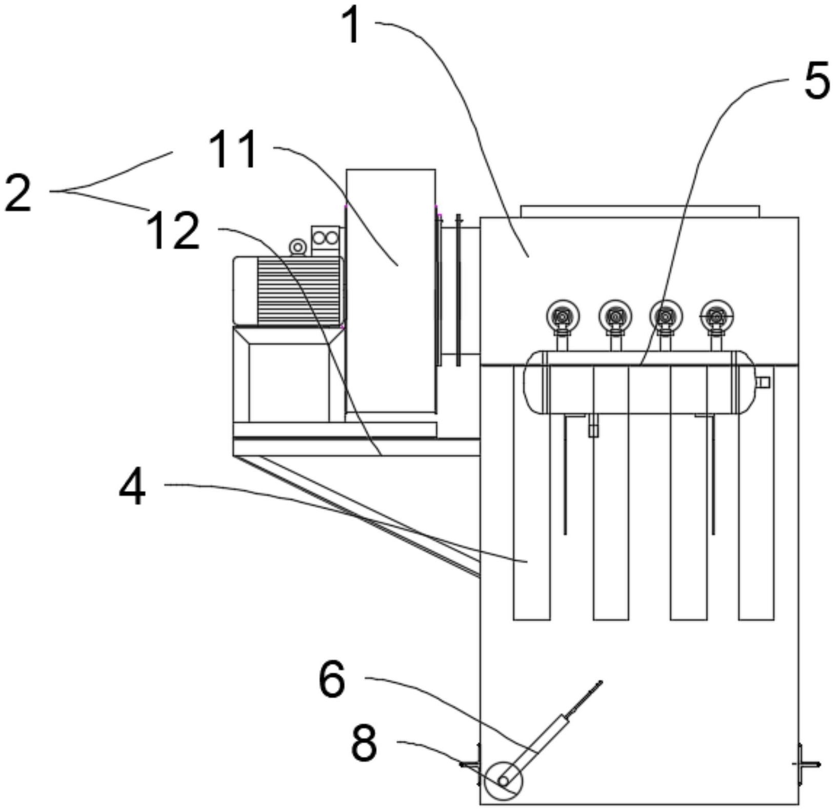
本实用新型公开了一种混凝土搅拌站环保用降尘装置,包括上下端开口的箱体;抽气装置设置在位于箱体上端的开口处;安装板设置在箱体内;滤筒设置在均布在安装板上;脉冲发生器安装在箱体外,且脉冲发生器的输出端设置在滤筒上方;箱体上端开口设置在箱体一侧、下端开口设置在箱体底面。有益效果:空气进入到箱体时,部分空气直接进入或经过引导板上的通孔进入,另外一部分会经过引导板的阻隔,向引导板的引导方向流动,使得空气流向远离抽气装置的滤筒,使得带有灰尘的空气与这些滤筒充分接触,吸附掉空气中的灰尘,这样可以保持空气与每个滤筒接触的面积和时间之间的平衡,使得每个滤筒在相同时间段内吸附的灰尘量相似,能够提高除尘的效率。


