授权公布号:CN214780420U
一种灌桩机用提升装置
有效
申请
2021-06-09
申请公布
1970-01-01
授权
2021-11-19
预估到期
2031-06-09
| 申请号 | CN202121301812.1 |
| 申请日 | 2021-06-09 |
| 授权公布号 | CN214780420U |
| 授权公告日 | 2021-11-19 |
| 分类号 | B66C25/00;B66C13/06;E02D15/04 |
| 分类 | 卷扬;提升;牵引; |
| 申请人名称 | 郑州市三强机械有限责任公司 |
| 申请人地址 | 河南省郑州市荥阳市豫龙镇郑上路北侧 |
专利法律状态
2021-11-19
授权
状态信息
授权
摘要
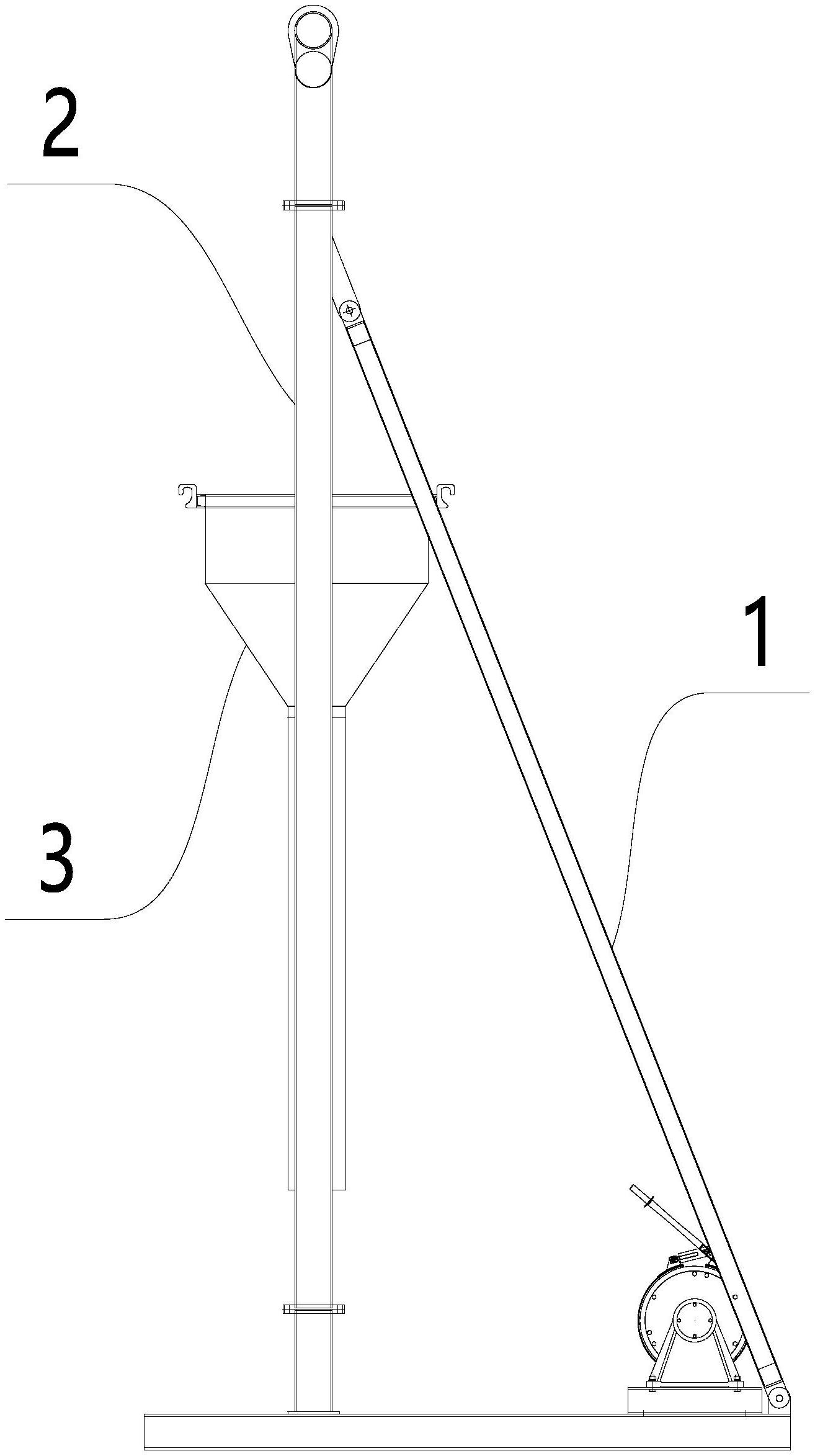
本实用新型涉及一种灌桩机用提升装置,包括两个斜拉柱、与斜拉柱连接的两个立柱,所述立柱上设有滑轮箱,所述滑轮箱内沿竖直方向设有多个定滑轮,所述定滑轮上缠绕有拉绳,所述拉绳上连接牵引绳的一端,所述牵引绳的另一端与混凝土斗连接,所述滑轮箱设置在两个立柱上相互靠近的一侧,两个所述滑轮箱相互靠近的一侧均开设有牵引绳出口,所述牵引绳出口内设有牵引绳;本实用新型涉及一种灌桩机用提升装置,具有稳定效果好、便于拆装的优点。


