授权公布号:CN214778134U
一种混凝土搅拌站水泥碎石混合料成品储料仓
有效
申请
2021-06-09
申请公布
1970-01-01
授权
2021-11-19
预估到期
2031-06-09
| 申请号 | CN202121294274.8 |
| 申请日 | 2021-06-09 |
| 授权公布号 | CN214778134U |
| 授权公告日 | 2021-11-19 |
| 分类号 | B65D88/66;B65D90/02;B65D90/12;B65D90/48 |
| 分类 | 输送;包装;贮存;搬运薄的或细丝状材料; |
| 申请人名称 | 郑州市三强机械有限责任公司 |
| 申请人地址 | 河南省郑州市荥阳市豫龙镇郑上路北侧 |
专利法律状态
2021-11-19
授权
状态信息
授权
摘要
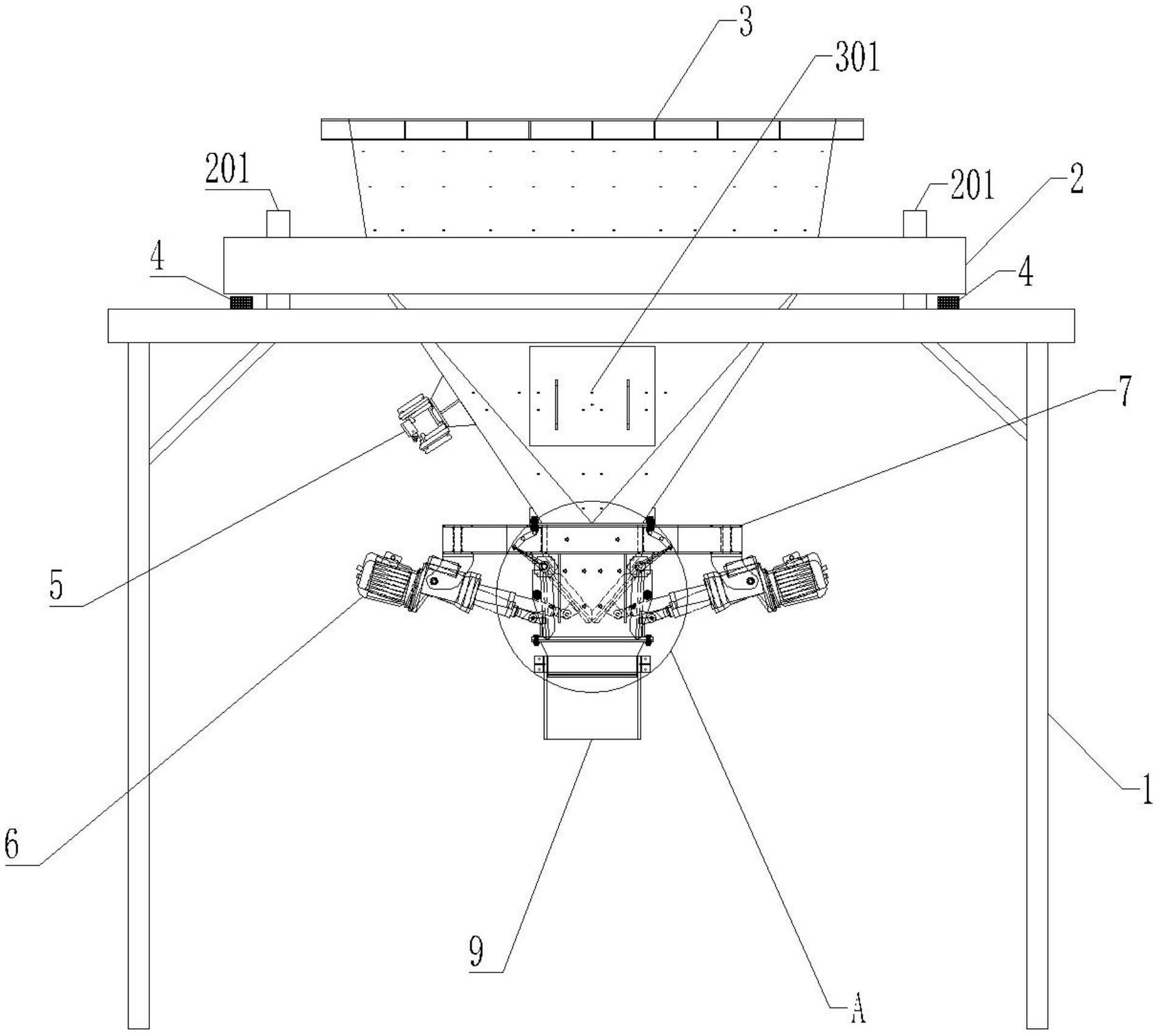
本实用新型公开了一种混凝土搅拌站水泥碎石混合料成品储料仓,包括支撑架,所述支撑架上设置有承重架,所述承重架上设置有料仓本体,所述料仓本体顶部设置进料口底部设置有方形出料口,所述出料口处设置有支架,所述支架上设置有用于控制出料口开合的开合装置,所述开合装置包括活动板一、活动板二、固定板一及固定板二,所述活动板一与活动板二的底部均沿水平方向设置有用于抵接的斜面,所述活动板一与活动板二均与设置在支架上的电动推杆的输出部铰接,所述支架与电动推杆通过固定件连接,精简了结构,实现了对混凝土装载量的精准控制,节约了生产成本,提高了生产效率。


