授权公布号:CN214422433U
一种可以将污水循环再利用的污水处理装置
有效
申请
2021-07-28
申请公布
1970-01-01
授权
2021-10-19
预估到期
2031-07-28
| 申请号 | CN202022753654.5 |
| 申请日 | 2021-07-28 |
| 授权公布号 | CN214422433U |
| 授权公告日 | 2021-10-19 |
| 分类号 | C02F9/08 |
| 分类 | 水、废水、污水或污泥的处理; |
| 申请人名称 | 郑州市三强机械有限责任公司 |
| 申请人地址 | 河南省郑州市荥阳市豫龙镇郑上路北侧 |
专利法律状态
2021-10-19
授权
状态信息
授权
摘要
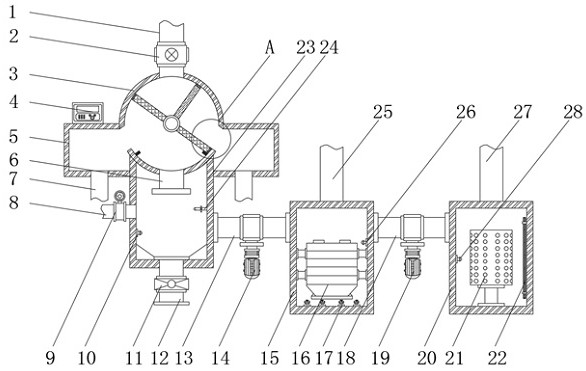
本实用新型公开了一种可以将污水循环再利用的污水处理装置,包括除杂筒,调节箱,生物处理箱和消毒净化箱,所述除杂筒顶部连通进水管,且进水管上安装有电磁阀,所述除杂筒底部焊接有调节箱,且除杂筒底部中央通过第一输水管连通调节箱,所述调节箱侧面连通第二输水管一端,且第二输水管另一端连通生物处理箱,并且第二输水管上安装有第一水泵,所述生物处理箱侧面连通第三输水管一端,且第三输水管另一端连通消毒净化箱,并且第三输水管上安装有第二水泵。有益效果:本实用新型实现了自动清理过滤格栅的功能,无需人工将过滤格栅拆卸进行清理,大大的节省了人力和物力,也提高了后续污水处理的工作效率,且自动化高,降低了污水处理的人工成本。


