授权公布号:CN214080539U
一种工件定心装置、周边磨床
有效
申请
2020-12-25
申请公布
1970-01-01
授权
2021-08-31
预估到期
2030-12-25
| 申请号 | CN202023175852.4 |
| 申请日 | 2020-12-25 |
| 授权公布号 | CN214080539U |
| 授权公告日 | 2021-08-31 |
| 分类号 | B24B3/36;B24B41/06;B24B41/00;B24B55/00;B24B47/06;B24B47/20;B24B27/00 |
| 分类 | 磨削;抛光; |
| 申请人名称 | 江苏新瑞重工科技有限公司 |
| 申请人地址 | 江苏省常州市武进高新技术产业开发区凤栖路20号 |
专利法律状态
2021-08-31
授权
状态信息
授权
摘要
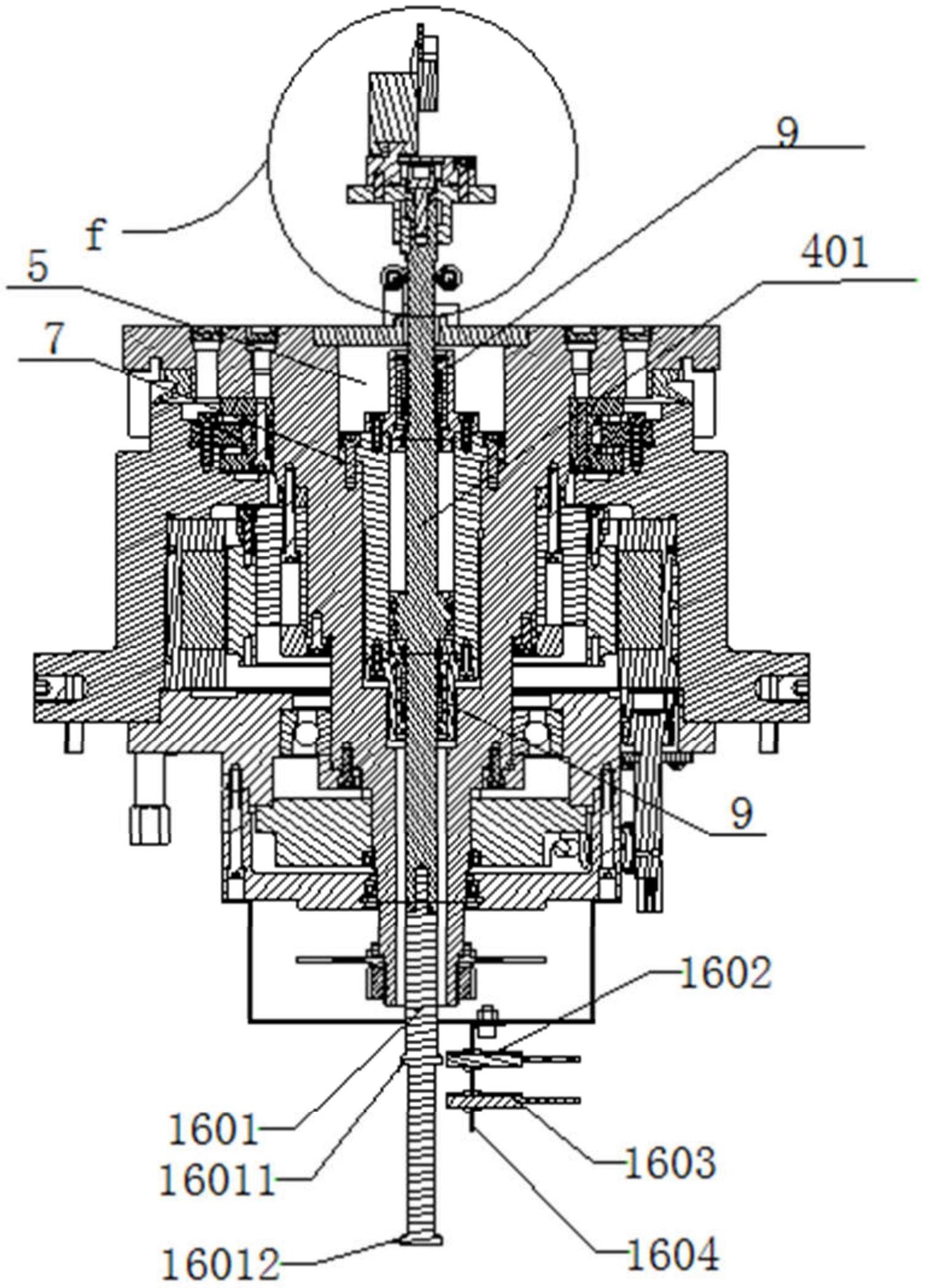
本实用新型公开了一种工件定心装置、周边磨床,包括安装底座、转台台面、装夹组件和活塞组件;所述转台台面架设于所述安装底座上、并与所述安装底座转动连接,转台台面的中心设有空腔,所述活塞组件固定于所述空腔内,活塞组件的活塞杆穿过所述空腔、并与所述装夹组件固定连接,活塞杆可作上下进给运动;所述工件定心装置还包括导向组件,所述导向组件沿活塞杆的周向对活塞杆上的多个轴向点或者轴向段进行同心限位,以使活塞杆沿直线运动。本实用新型可以保证活塞杆在轴向上的任何部位都不会产生径向偏差,从而使位于活塞杆末端的刀片定位精准,提高加工精度。


