授权公布号:CN215237767U
一种铸造件传输装置
有效
申请
2021-06-30
申请公布
1970-01-01
授权
2021-12-21
预估到期
2031-06-30
| 申请号 | CN202121474775.4 |
| 申请日 | 2021-06-30 |
| 授权公布号 | CN215237767U |
| 授权公告日 | 2021-12-21 |
| 分类号 | B22D29/04 |
| 分类 | 铸造;粉末冶金; |
| 申请人名称 | 长沙湘瑞重工有限公司 |
| 申请人地址 | 湖南省长沙市宁乡市大成桥镇永盛村(大成桥工业园12号) |
专利法律状态
2023-06-06
专利权质押合同登记的生效、变更及注销
状态信息
专利权质押合同登记的生效;IPC(主分类):B22D29/04;登记号:Y2023980041050;登记生效日:20230518;出质人:长沙湘瑞重工有限公司;质权人:湖南银行股份有限公司长沙分行;实用新型名称:一种铸造件传输装置;申请日:20210630;授权公告日:20211221
2021-12-21
授权
状态信息
授权
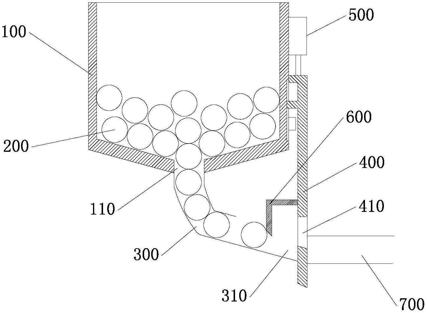
摘要
本实用新型公开了一种铸造件传输装置,包括:投料斗,用于投放铸造管,投料斗的底部设有料斗出口;传输通道,传输通道具有通道入口和通道出口,通道入口和料斗出口对接;控制挡板,控制挡板设置在通道出口,控制挡板上开设有过料孔,控制挡板和动力装置传动连接,以控制过料孔与通道出口接通或错开切换;隔断挡板,隔断挡板设置在控制挡板的前方,且和控制挡板间隔设置,隔断挡板和控制挡板之间的间隔能够容纳一根铸造管,隔断挡板和控制挡板同步运动,当过料孔与通道出口接通时,隔断挡板隔断传输通道的铸造管传输,当过料孔与通道出口错开时,隔断挡板撤去对传输通道的隔断;传输平台设置在通道出口和工作工位之间。


