授权公布号:CN218837012U
一种卧式数控机床用冷却液循环装置
有效
申请
2022-06-28
申请公布
1970-01-01
授权
2023-04-11
预估到期
2032-06-28
| 申请号 | CN202221652369.7 |
| 申请日 | 2022-06-28 |
| 授权公布号 | CN218837012U |
| 授权公告日 | 2023-04-11 |
| 分类号 | B23Q11/10;B23Q11/00 |
| 分类 | 机床;不包含在其他类目中的金属加工; |
| 申请人名称 | 安阳鑫盛机床股份有限公司 |
| 申请人地址 | 河南省安阳市高新区弦歌大道西段路南 |
专利法律状态
2023-04-11
授权
状态信息
授权
摘要
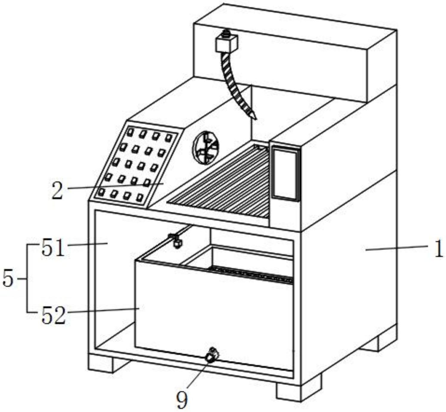
本实用新型公开了一种卧式数控机床用冷却液循环装置,其包括机体和设置在所述机体上的加工区、冷却组件、辅助下料结构、集液结构、固液分离结构。所述辅助下料结构包括开设在所述加工区内底端的通槽和间隔分布在所述通槽中的多个工件挡柱。所述集液结构包括收集腔和冷却液收集盒。固液分离结构包括矩形支撑罩、从上至下依次固连在所述矩形支撑罩内壁的第一金属网栅、尼龙布过滤层、第二金属网栅和牵引杆。本实用新型的一种卧式数控机床用冷却液循环装置,通过对混入的废料及冷却液进行固液分离,后续方便了废料集体的取出以及冷却液过滤后连续再利用;通过实现对冷却液液位高度的计量,满足了冷却液及时及合理取用的提醒效果。


