授权公布号:CN217595959U
一种大型工件端面镗孔加工装置
有效
申请
2022-05-31
申请公布
1970-01-01
授权
2022-10-18
预估到期
2032-05-31
| 申请号 | CN202221342684.X |
| 申请日 | 2022-05-31 |
| 授权公布号 | CN217595959U |
| 授权公告日 | 2022-10-18 |
| 分类号 | B23B41/00;B23B47/00;B23Q1/26;B23Q3/04;B23Q3/06;B23Q15/26;B23Q17/00 |
| 分类 | 机床;不包含在其他类目中的金属加工; |
| 申请人名称 | 安阳鑫盛机床股份有限公司 |
| 申请人地址 | 河南省安阳市高新区弦歌大道西段路南 |
专利法律状态
2022-10-18
授权
状态信息
授权
摘要
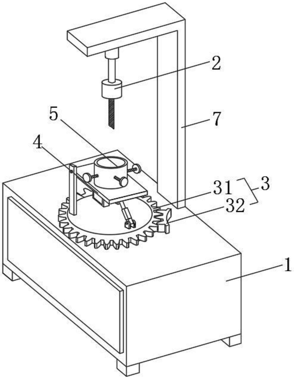
本实用新型公开了一种大型工件端面镗孔加工装置。其包括基座和固定架设在所述基座上的镗削机构、环向调节结构、倾角调节结构、固定夹具。所述环向调节结构活动设置在所述基座上;所述环向调节结构包括齿轮盘和活动设置在所述齿轮盘齿牙上的锁齿;所述锁齿活动嵌入在所述基座上。倾角调节结构设置在所述齿轮盘上;所述倾角调节结构包括固定安装在所述齿轮盘上表面的两个立柱、转动连接在两个所述立柱之间的承接板和活动连接在所述承接板与所述齿轮盘之间的液压推杆。本实用新型的一种大型工件端面镗孔加工装置,通过实现装夹在固定夹具中工件不同加工倾角的方位可控调节,调节效率高且精准,有效满足了工件镗孔角度加工的多样性。


