授权公布号:CN216633967U
机床丝杠磨床工件固定旋转装置
有效
申请
2021-12-08
申请公布
1970-01-01
授权
2022-05-31
预估到期
2031-12-08
| 申请号 | CN202123067801.4 |
| 申请日 | 2021-12-08 |
| 授权公布号 | CN216633967U |
| 授权公告日 | 2022-05-31 |
| 分类号 | B24B41/06;B24B47/00 |
| 分类 | 磨削;抛光; |
| 申请人名称 | 安阳鑫盛机床股份有限公司 |
| 申请人地址 | 河南省安阳市高新区弦歌大道西段路南 |
专利法律状态
2022-05-31
授权
状态信息
授权
摘要
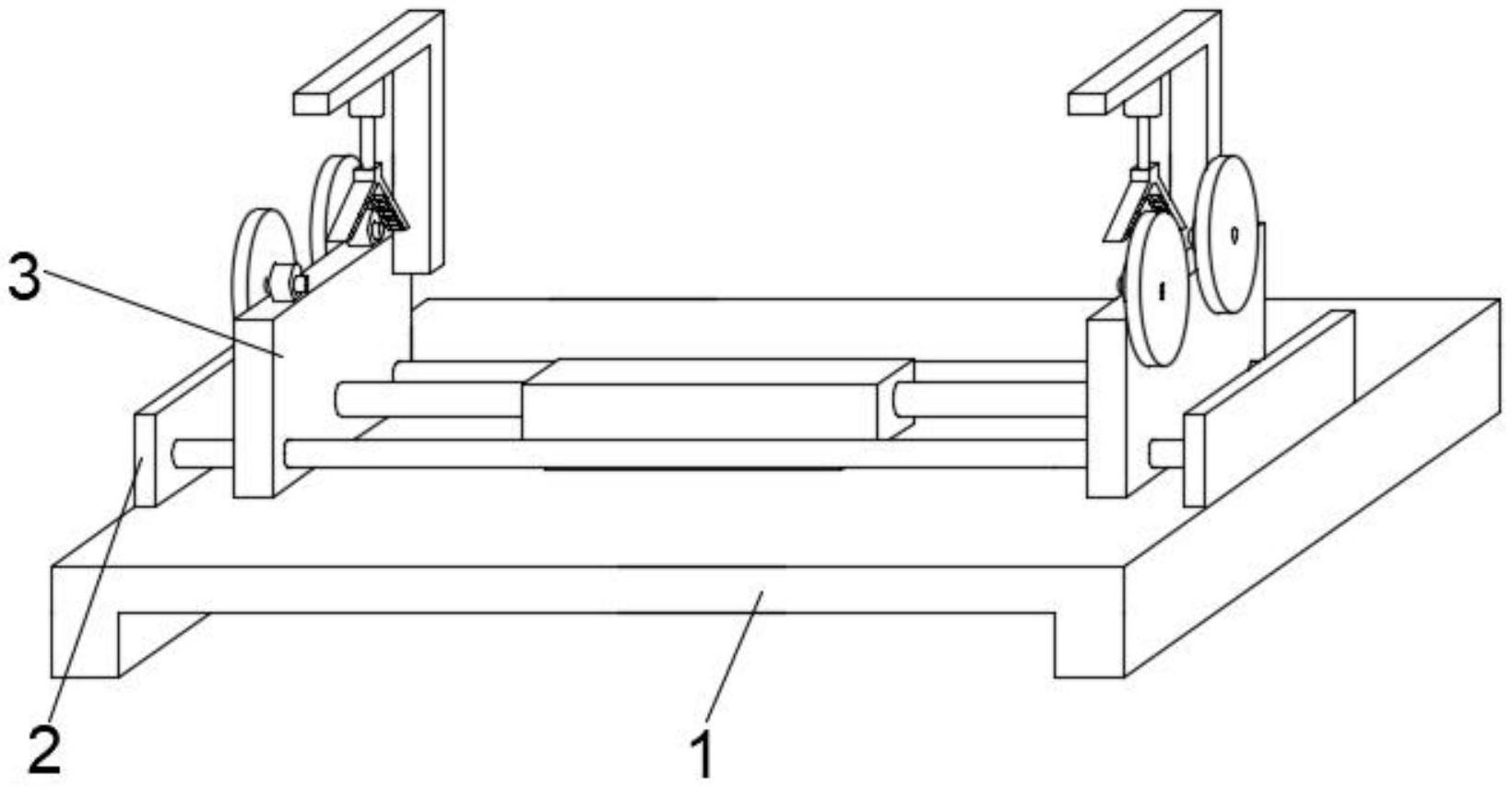
本实用公开机床丝杠磨床工件固定旋转装置。其包括设于磨床工作台顶面的基台、位移调节机构以及两个旋转固定结构。每个旋转固定结构包括固定安装在双向气缸输出端的定位板、对称固定安装在定位板上表面的两个轴承座、同轴转动连接在每个轴承座一侧且面向定位板一侧的定位轮盘、固定安装在定位板一侧后表面且背向定位轮盘一侧的L型支撑、固定安装在沿L型支撑顶端水平折弯处下表面的电动推杆、固定安装在电动推杆底部输出端的夹持架和多个滚轮。本实用的机床丝杠磨床工件固定旋转装置,其可适用于不同直径、直线长度的柱形工件进行加工限定,且位置限定后的柱形工件可进行轴向自转调节,以至可满足柱形工件旋转加工的使用需求。


