授权公布号:CN218837057U
一种主轴中心架
有效
申请
2022-11-07
申请公布
1970-01-01
授权
2023-04-11
预估到期
2032-11-07
| 申请号 | CN202222957079.X |
| 申请日 | 2022-11-07 |
| 授权公布号 | CN218837057U |
| 授权公告日 | 2023-04-11 |
| 分类号 | B24B5/35;B24B41/06;B24B41/02;B24B55/00 |
| 分类 | 磨削;抛光; |
| 申请人名称 | 安阳鑫盛机床股份有限公司 |
| 申请人地址 | 河南省安阳市高新区弦歌大道西段路南 |
专利法律状态
2023-04-11
授权
状态信息
授权
摘要
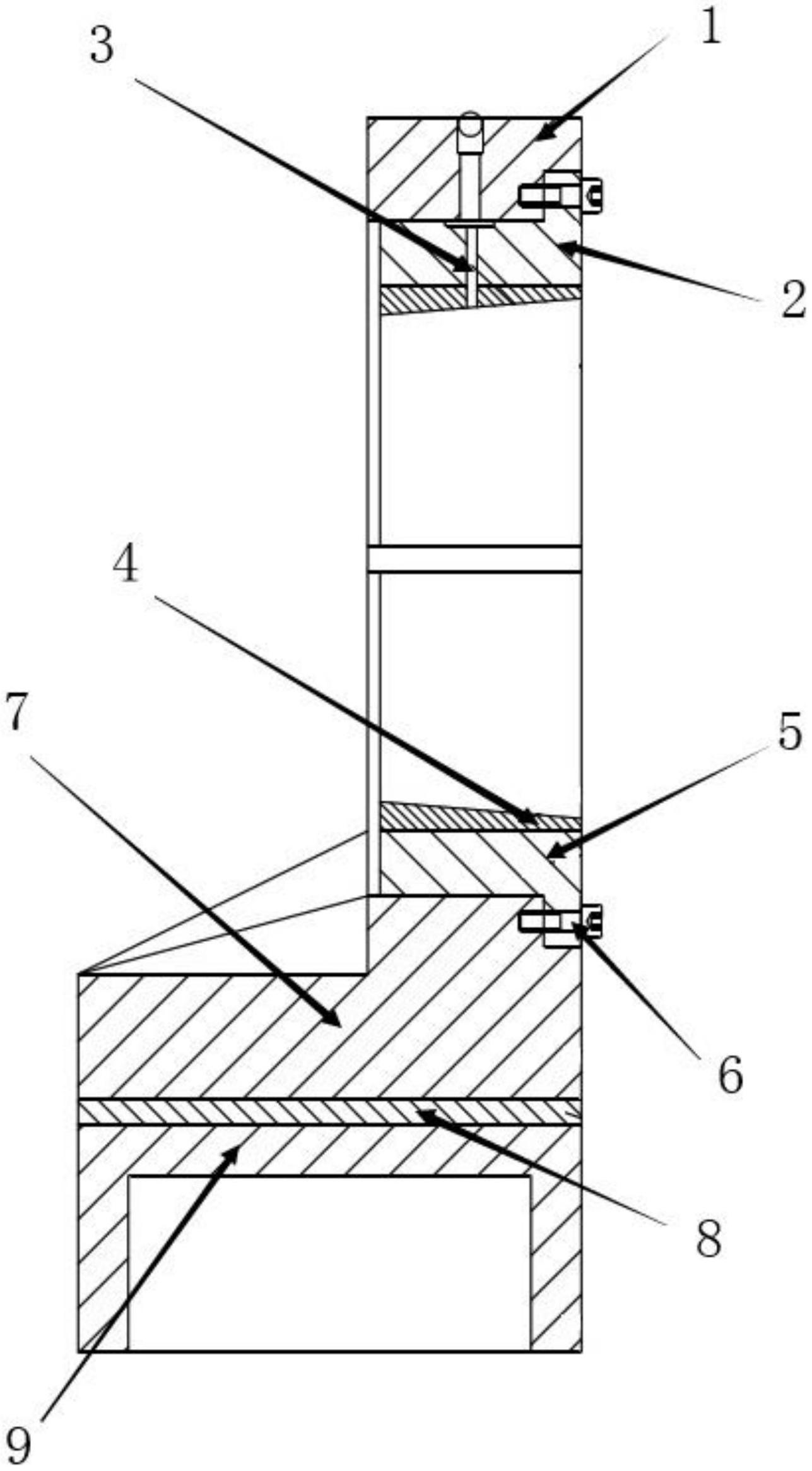
本实用新型公开了一种主轴中心架,包括上弹子油杯及润滑油路、浇筑巴氏合金锥套、下轴瓦、固定螺钉、调整垫和滑板,所述滑板上安装调整垫,所述下基座上安装下轴瓦,所述浇筑巴氏合金锥套上方设置上轴瓦,所述上轴瓦和下轴瓦内部设置固定螺钉,所述上轴瓦上方安装上基座,所述上轴瓦内设置弹子油杯及润滑油路。该主轴中心架设置有一套方便安装拆卸的轴瓦:这套主轴中心架的上轴瓦和下轴瓦均通过螺栓固定在上基座和下基座上,当使用者长时间使用这套主轴中心架致使上轴瓦和下轴瓦磨损时,使用者可以通过拆除螺栓后更换上轴瓦和下轴瓦,比起传统的中心架,更换磨损部件要更为方便。


