授权公布号:CN212378638U
一种餐厨垃圾车箱体轨道检测装置
有效
申请
2020-05-21
申请公布
1970-01-01
授权
2021-01-19
预估到期
2030-05-21
| 申请号 | CN202020862135.X |
| 申请日 | 2020-05-21 |
| 授权公布号 | CN212378638U |
| 授权公告日 | 2021-01-19 |
| 分类号 | G01B5/00 |
| 分类 | 测量;测试; |
| 申请人名称 | 河南森源重工有限公司 |
| 申请人地址 | 河南省许昌市长葛市魏武路16号 |
专利法律状态
2021-01-19
授权
状态信息
授权
摘要
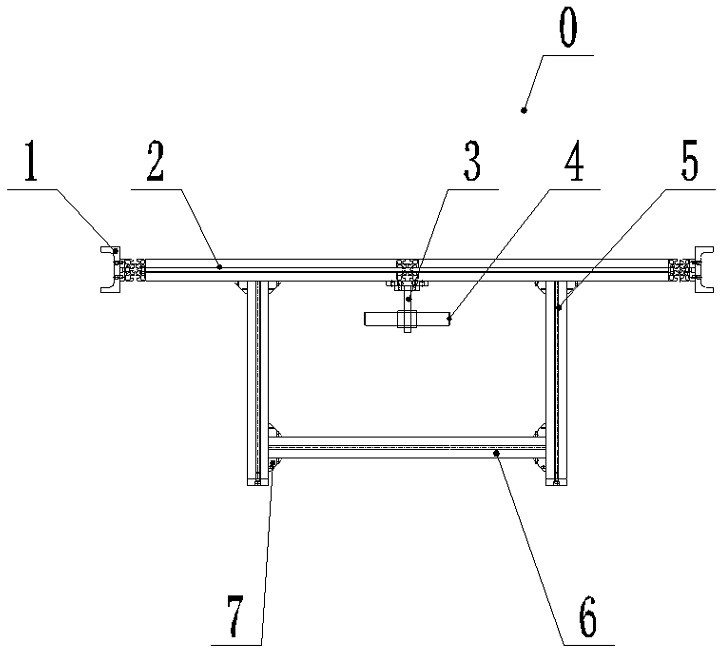
本实用新型涉及一种餐厨垃圾车箱体轨道检测装置,包括:检测装置本体,所述的检测装置本体包括轨道卡槽件、定位架、油缸定位座、定位轴、竖支杆、横支杆、直角件、纵支杆,所述的检测装置本体底部设置有竖支杆,竖支杆上端设置有定位架,定位架四角处设置有轨道卡槽件,轨道卡槽件与定位架之间为螺栓连接,所述的定位架左侧杆下端设置有油缸定位座;总得来讲:本实用新型具有结构简单、检测准确、操作简单、拆装方便的优点。


