授权公布号:CN218805753U
一种防爆柴油机混凝土摊铺机的双控制动系统
有效
申请
2022-11-23
申请公布
1970-01-01
授权
2023-04-07
预估到期
2032-11-23
| 申请号 | CN202223107661.3 |
| 申请日 | 2022-11-23 |
| 授权公布号 | CN218805753U |
| 授权公告日 | 2023-04-07 |
| 分类号 | B60T7/10;B60T7/16;B60T11/10;E01C19/18;G08C17/02 |
| 分类 | 一般车辆; |
| 申请人名称 | 莱州亚通重型装备有限公司 |
| 申请人地址 | 山东省烟台市莱州市经济开发区玉海街6898号 |
专利法律状态
2023-04-07
授权
状态信息
授权
摘要
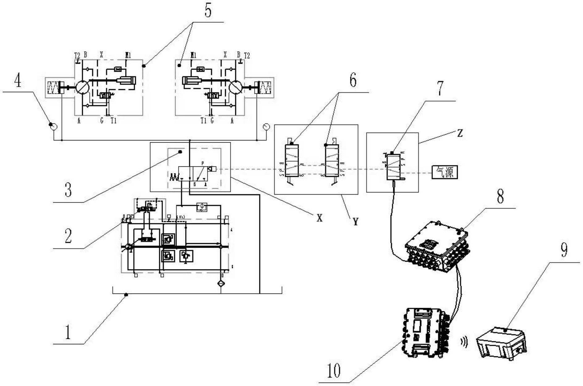
本实用新型公开了一种防爆柴油机混凝土摊铺机的双控制动系统,应用于车辆制动技术领域,包括:液压油箱、液压油泵、换向阀和液压马达减速机组成的执行系统;二位五通拨动阀、电磁铁、行走控制箱、遥控器和接收器箱组成的控制系统;压力表用来查看系统是否解开制动。本实用新型提供一种防爆柴油机混凝土摊铺机的新型制动方式,其成本低,两个手制动对驾驶员十分方便,在某些工况下不用停发动机,提高工作效率。


