授权公布号:CN111846709B
一种垃圾车用顶盖开合装置
有效
申请
2020-07-29
申请公布
2020-10-30
授权
2022-03-01
预估到期
2040-07-29
| 申请号 | CN202010745594.4 |
| 申请日 | 2020-07-29 |
| 申请公布号 | CN111846709A |
| 申请公布日 | 2020-10-30 |
| 授权公布号 | CN111846709B |
| 授权公告日 | 2022-03-01 |
| 分类号 | B65F3/00 |
| 分类 | 输送;包装;贮存;搬运薄的或细丝状材料; |
| 申请人名称 | 利辛县江淮扬天汽车有限公司 |
| 申请人地址 | 安徽省亳州市利辛县工业园区创业路1号 |
专利法律状态
2022-03-01
授权
状态信息
授权
2020-10-30
公布
状态信息
公布
摘要
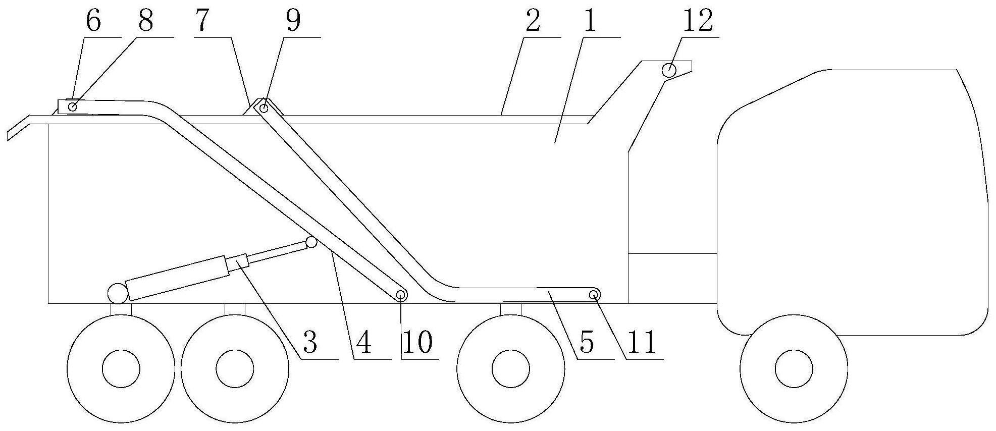
本发明提供了一种垃圾车用顶盖开合装置,涉及垃圾车领域,包括车厢及与顶盖;位于车厢两侧的驱动杆和连接杆、第三转轴、第四转轴,驱动杆的底部与的转轴转动连接,连接杆的底部与的第四转轴转动连接,第三转轴的底端和第四转轴的底端均固定于车厢;第一竖板、第二竖板、第一转轴及第二转轴,第一竖板和第二竖板均固定于顶盖的上表面,第一转轴的一端固定于第一竖板,第二转轴的一端固定于第二竖板,驱动杆的顶端与对应的第一转轴转动连接,连接杆的顶端与对应的第二转轴转动连接;第一液压缸,其输出轴与驱动杆的杆体铰接,且底部与车厢的下边缘铰接。本发明尽可能的使垃圾产生的气体不会逸散,也可防止在运输过程中,一些垃圾从车厢内掉落。


