授权公布号:CN109168572B
一种玉米秸秆收割打捆一体机的喂料机构
有效
申请
2018-08-01
申请公布
2019-01-11
授权
2021-05-04
预估到期
2038-08-01
| 申请号 | CN201810863785.3 |
| 申请日 | 2018-08-01 |
| 申请公布号 | CN109168572A |
| 申请公布日 | 2019-01-11 |
| 授权公布号 | CN109168572B |
| 授权公告日 | 2021-05-04 |
| 分类号 | A01D37/00;A01D57/00 |
| 分类 | 农业;林业;畜牧业;狩猎;诱捕;捕鱼; |
| 申请人名称 | 利辛县江淮扬天汽车有限公司 |
| 申请人地址 | 安徽省亳州市利辛县工业园区创业路1号 |
专利法律状态
2021-10-29
专利权质押合同登记的生效、变更及注销
状态信息
专利权质押合同登记的生效;IPC(主分类):A01D37/00;登记号:Y2021980010618;登记生效日:20211013;出质人:利辛县江淮扬天汽车有限公司;质权人:安徽利辛农村商业银行股份有限公司;发明名称:一种玉米秸秆收割打捆一体机的喂料机构;申请日:20180801;授权公告日:20210504
2021-05-04
授权
状态信息
授权
2019-02-12
实质审查的生效
状态信息
实质审查的生效;IPC(主分类):A01D37/00;申请日:20180801
2019-01-11
公布
状态信息
公布
摘要
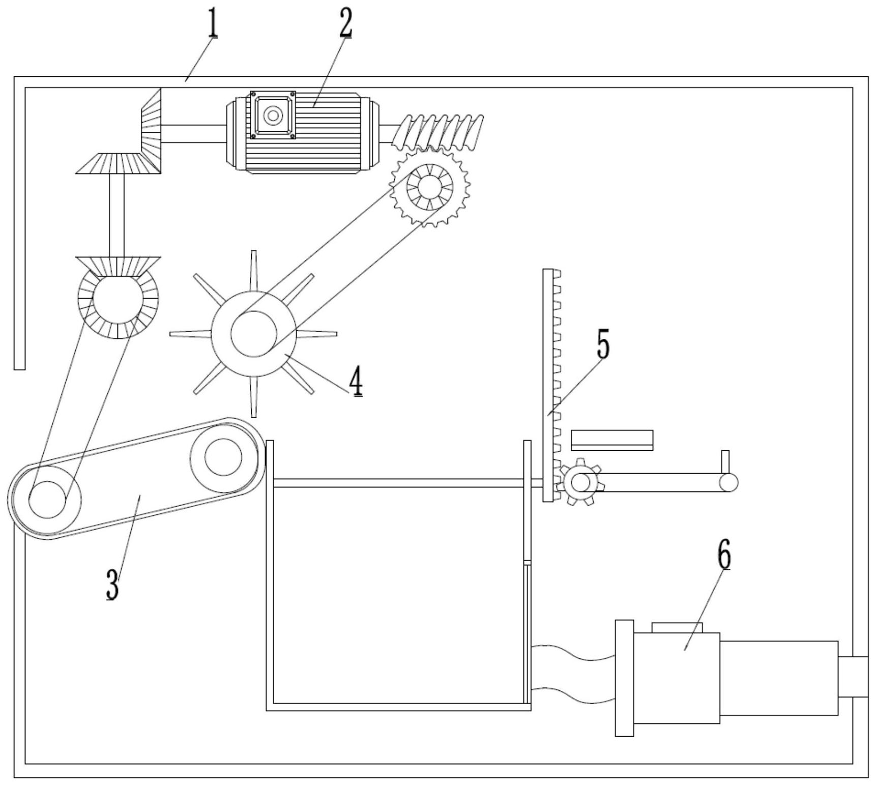
本发明公开了一种玉米秸秆收割打捆一体机的喂料机构,通过设置冗余装置,当存料板上落入玉米秸秆时,存料板因重力下移,带动触发齿条下移,带动传动齿轮旋转,进而主动接触块与被动接触块接触,使第一接触器、第二接触器和继电器的线圈分别得电,启动出料机构、打捆机和封闭闸板,使存料槽中存油一定量的玉米秸秆时,打捆机才进行打捆,避免因收割机产生故障或停止收割时打捆机喂料不稳定,将收割机收割玉米秸秆预先存储在存料槽中中,再通过出料机构稳定地向打捆机喂料,保证在收割过程中,打捆机的供料连续,且收割机和打捆机的吞吐量通过冗余装置调节,避免了吞吐量不匹配的问题,提高玉米秸秆收割打捆的效率。


