授权公布号:CN109005877B
一种玉米及玉米秸秆收割打捆一体机
有效
申请
2018-08-01
申请公布
2018-12-18
授权
2021-05-25
预估到期
2038-08-01
| 申请号 | CN201810866446.0 |
| 申请日 | 2018-08-01 |
| 申请公布号 | CN109005877A |
| 申请公布日 | 2018-12-18 |
| 授权公布号 | CN109005877B |
| 授权公告日 | 2021-05-25 |
| 分类号 | A01D37/00;A01D39/00 |
| 分类 | 农业;林业;畜牧业;狩猎;诱捕;捕鱼; |
| 申请人名称 | 利辛县江淮扬天汽车有限公司 |
| 申请人地址 | 安徽省亳州市利辛县工业园区创业路1号 |
专利法律状态
2021-10-29
专利权质押合同登记的生效、变更及注销
状态信息
专利权质押合同登记的生效;IPC(主分类):A01D37/00;登记号:Y2021980010618;登记生效日:20211013;出质人:利辛县江淮扬天汽车有限公司;质权人:安徽利辛农村商业银行股份有限公司;发明名称:一种玉米及玉米秸秆收割打捆一体机;申请日:20180801;授权公告日:20210525
2021-05-25
授权
状态信息
授权
2019-01-18
实质审查的生效
状态信息
实质审查的生效;IPC(主分类):A01D37/00;申请日:20180801
2018-12-18
公布
状态信息
公布
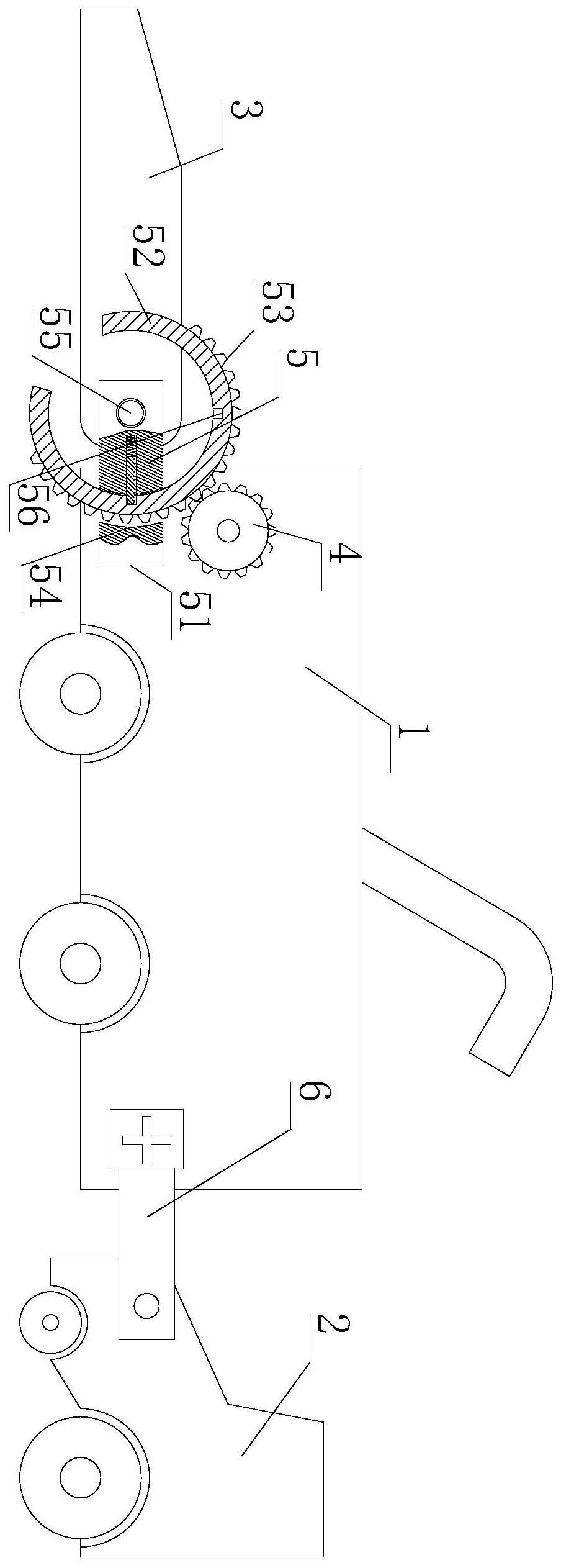
摘要
本发明的一种玉米及玉米秸秆收割打捆一体机,涉及农业机械领域,包括收割机和打捆机,所述收割机的左侧设有割台,收割机靠近左侧的前后两端对称设有圆柱齿轮,所述圆柱齿轮与收割机的动力轴键连接,所述割台通过起降机构与收割机的左端连接,所述起降机构与圆柱齿轮啮合,所述打捆机通过连接机构与收割机的左端连接,在机器仓库停放和到玉米地的路上,通过起降机构将割台垂直放置,使机器长度缩小方便存放和路上行驶,另外通过连接机构,使收割机和打捆机可以分离,一方面在停放机器时,可以使两者分离,方便存放,另一方面在打捆机需要打捆别的种类秸秆时,可以单独将打捆机分离,这样更加灵活,使机器的使用范围更广。


