授权公布号:CN212936783U
一种玉米秸秆收割打捆机用捡料装置
有效
申请
2020-07-21
申请公布
1970-01-01
授权
2021-04-13
预估到期
2030-07-21
| 申请号 | CN202021442510.1 |
| 申请日 | 2020-07-21 |
| 授权公布号 | CN212936783U |
| 授权公告日 | 2021-04-13 |
| 分类号 | A01D89/00 |
| 分类 | 农业;林业;畜牧业;狩猎;诱捕;捕鱼; |
| 申请人名称 | 利辛县江淮扬天汽车有限公司 |
| 申请人地址 | 安徽省亳州市利辛县工业园区创业路1号 |
专利法律状态
2021-04-13
授权
状态信息
授权
摘要
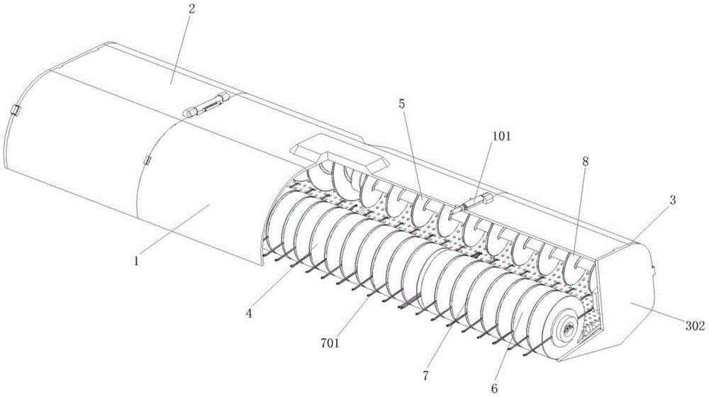
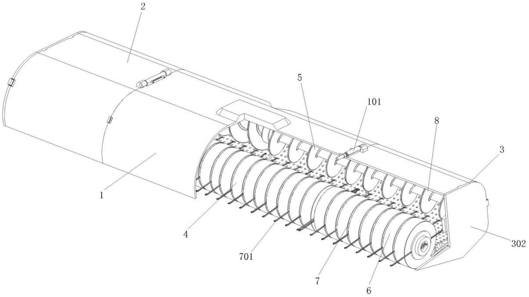
本实用新型提供了一种玉米秸秆收割打捆机用捡料装置,包括:中心拾捡箱,所述中心拾捡箱的上方对称设置有嵌合套筒,所述嵌合套筒的中间设置有横向滑槽,所述嵌合套筒的内侧设置有复位弹簧,所述复位弹簧的左右两侧对称设置有折叠连接轴;侧边拾捡箱,对称设置于所述中心拾捡箱的左右两侧。本实用新型在主要的中心拾捡箱左右两侧对称设置的侧边拾捡箱与中心拾捡箱之间通过方便进行拆卸的连接转轴结构进行转动连接,并且两者中设置的拾捡辊和输送板结构之间具有传动连接机构,从而使侧边拾捡箱可以通过转动与中心拾捡箱相互扣合为一个更大宽度的整体拾捡结构,以提高装置的工作宽度,或通过转动折叠收纳降低整体宽度,便于进行运输移动。


