授权公布号:CN216377435U
一种保健品口服液用药剂存灌装置
有效
申请
2021-11-16
申请公布
1970-01-01
授权
2022-04-26
预估到期
2031-11-16
| 申请号 | CN202122796644.4 |
| 申请日 | 2021-11-16 |
| 授权公布号 | CN216377435U |
| 授权公告日 | 2022-04-26 |
| 分类号 | B67C3/24;B67C3/16 |
| 分类 | 开启或封闭瓶子、罐或类似的容器;液体的贮运; |
| 申请人名称 | 山东东阿东盛阿胶产品科技开发有限公司 |
| 申请人地址 | 山东省聊城市东阿县经济开发区香江路16号 |
专利法律状态
2022-04-26
授权
状态信息
授权
摘要
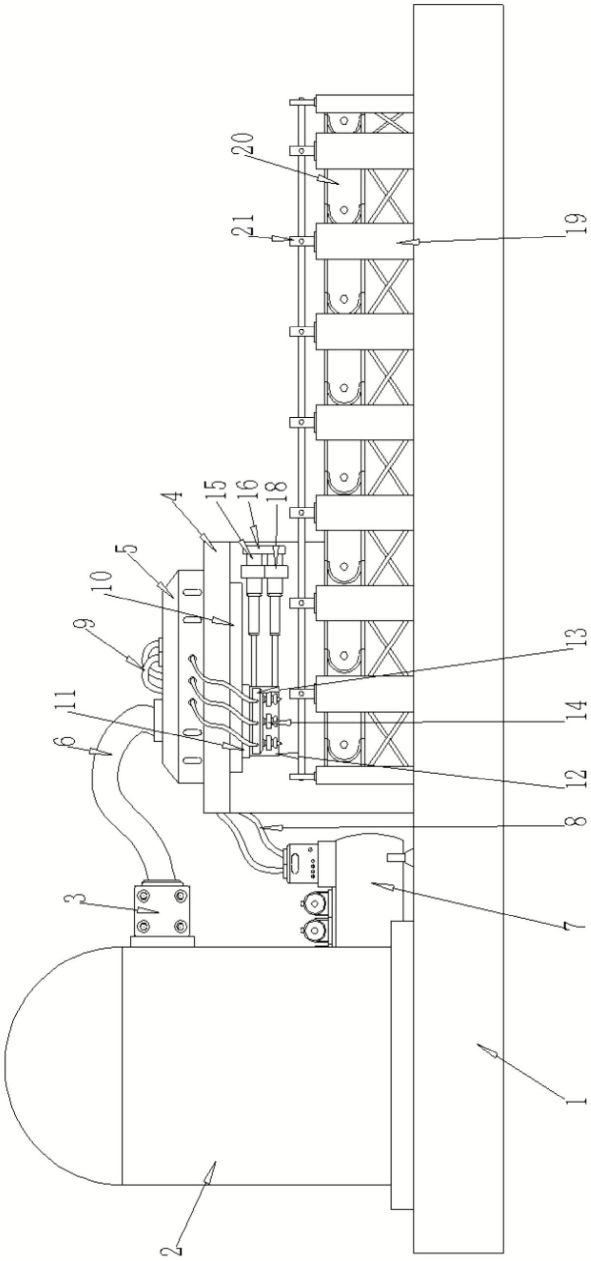
本实用新型公开了一种保健品口服液用药剂存灌装置,包括:设备安装台,设备安装台上安装有口服液储存灌装结构;口服液储存灌装结构包含有:储存罐、气动灌装组件以及瓶体输送组件;储存罐安装在设备安装台上壁面左侧位置,气动灌装组件安装在储存罐右侧靠后位置,气动灌装组件与储存罐相连接,瓶体输送组件安装在设备安装台上壁面上,瓶体输送组件部分结构位于气动灌装组件下方,本实用新型涉及口服液存灌设备技术领域,本案的有益效果为:解决了现有的灌装设备结构简单,在瓶体输送过程中会有瓶体倾倒或掉落,造成瓶体破碎,增加生产成本,且灌装注液结构简单,只能固定在一个位置进行注液灌装,效率较低,速度较慢的问题。


