授权公布号:CN219558787U
一种阿胶加热去浮沫装置
有效
申请
2023-02-17
申请公布
1970-01-01
授权
2023-08-22
预估到期
2033-02-17
| 申请号 | CN202320245842.8 |
| 申请日 | 2023-02-17 |
| 授权公布号 | CN219558787U |
| 授权公告日 | 2023-08-22 |
| 分类号 | B01D19/02 |
| 分类 | 一般的物理或化学的方法或装置; |
| 申请人名称 | 山东东阿东盛阿胶产品科技开发有限公司 |
| 申请人地址 | 山东省聊城市东阿县科技工业园东首 |
专利法律状态
2023-08-22
授权
状态信息
授权
摘要
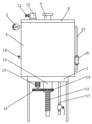
本实用新型涉及阿胶生产装置技术领域,且公开了一种阿胶加热去浮沫装置,包括用于对驴骨胶原浆进行加热的加热箱,加热箱为上端开口的箱体,加热箱的内箱壁上密封滑动连接有相匹配的支撑块,支撑块和加热箱之间共同连接有驱动组件,驱动组件用于驱动支撑块升降,支撑块上镶嵌有加热板,加热箱的外箱壁上套设有两端开口的过滤桶,过滤桶和加热箱之间共同连接有相匹配的支撑环,过滤桶和加热箱之间连接有回流组件,过滤桶和加热箱之间还连接有倾斜设置的过滤网。本实用新型对驴骨胶液中浮沫进行便捷的去除,无需进行精准的控制,监控难度小,且不会造成驴骨胶汁的浪费,通过降低驴骨胶原浆的沸点,提高了加热效率。


