授权公布号:CN216861900U
一种用于阿胶饮品生产的封装装置
有效
申请
2022-03-07
申请公布
1970-01-01
授权
2022-07-01
预估到期
2032-03-07
| 申请号 | CN202220498489.X |
| 申请日 | 2022-03-07 |
| 授权公布号 | CN216861900U |
| 授权公告日 | 2022-07-01 |
| 分类号 | B65B7/16;B65B51/10;B65B59/00;B65B43/52;B65B61/06 |
| 分类 | 输送;包装;贮存;搬运薄的或细丝状材料; |
| 申请人名称 | 山东东阿百年堂阿胶生物制品股份有限公司 |
| 申请人地址 | 山东省聊城市东阿县新城街道阿胶街东首路南 |
专利法律状态
2022-07-01
授权
状态信息
授权
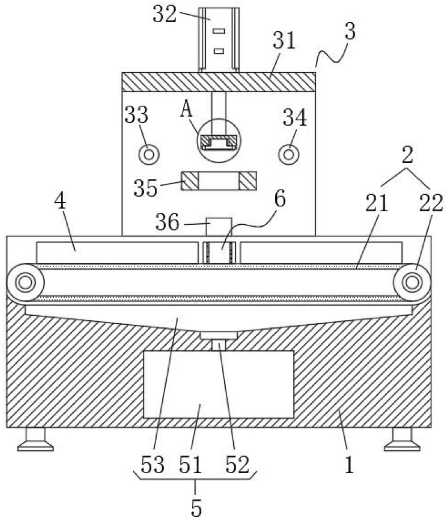
摘要
本实用新型涉及阿胶饮品生产技术领域,且公开了一种用于阿胶饮品生产的封装装置,包括机体、以及设于机体上的送料机构、封装机构、夹持机构和控制器,还包括设于机体内部的集液机构,所述集液机构包括位于送料机构下方的收集槽、开设于机体内部下方的储存腔、连接于收集槽和储存腔之间的连通管、以及安装于机体前侧的排出阀,本实用新型通过集液机构能够将倾洒的阿胶饮品进行收集,从而便于阿胶饮品的回收利用,有效地避免了阿胶饮品的浪费,大大的降低了阿胶饮品的生产损耗,有助于增加阿胶饮品的生产效益;并且能够防止阿胶饮品四处流动,以便于封装装置的快速清理,可降低工人的劳动强度,提高工人的工作效率。


