授权公布号:CN210461767U
一种球形管线球阀
有效
申请
2019-08-27
申请公布
1970-01-01
授权
2020-05-05
预估到期
2029-08-27
| 申请号 | CN201921403354.5 |
| 申请日 | 2019-08-27 |
| 授权公布号 | CN210461767U |
| 授权公告日 | 2020-05-05 |
| 分类号 | F16K5/06;F16K27/06 |
| 分类 | 工程元件或部件;为产生和保持机器或设备的有效运行的一般措施;一般绝热; |
| 申请人名称 | 上海科科阀门集团有限公司 |
| 申请人地址 | 上海市嘉定区南翔镇翔江公路963号 |
专利法律状态
2020-05-05
授权
状态信息
授权
摘要
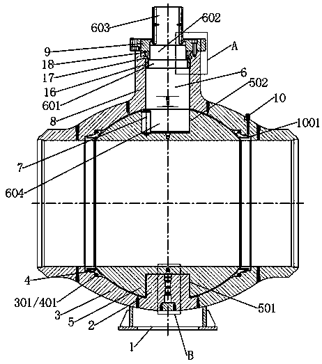
本实用新型公开了一种球形管线球阀,包括阀体、阀座、球体,球体上分别设置有上端阀杆孔、下端阀杆孔、下阀轴内孔,下阀轴内孔设置在下端阀杆孔封闭端上;上端阀杆孔与阀杆的阀杆固定端装配,销轴卡装入阀杆固定端外壁与上端阀杆孔内壁之间;阀体有两个,两个阀体的端面相互贴紧后焊接成一体;下端阀杆孔与下阀轴可转动装配,下阀轴安装、固定在阀体上,且下阀轴与下阀轴内孔对应处依次设置有:第一调节孔内安装有顶芯,顶芯顶部为球形的顶紧半球,顶紧半球与下阀轴内孔卡合、可球形转动装配,顶芯底部与调整螺钉顶部顶紧,且顶芯在第一调节孔内可圆周转动、轴向转动装配,调整螺钉通过螺纹与第二调节孔旋合装配。


