授权公布号:CN114515453B
自动冲洗过滤装置
有效
申请
2022-02-21
申请公布
2022-05-20
授权
2023-06-06
预估到期
2042-02-21
| 申请号 | CN202210157518.0 |
| 申请日 | 2022-02-21 |
| 申请公布号 | CN114515453A |
| 申请公布日 | 2022-05-20 |
| 授权公布号 | CN114515453B |
| 授权公告日 | 2023-06-06 |
| 分类号 | B01D29/01;B01D29/60;B01D29/66 |
| 分类 | 一般的物理或化学的方法或装置; |
| 申请人名称 | 博纳斯威阀门股份有限公司 |
| 申请人地址 | 天津市宝坻区九园工业园区5号路 |
专利法律状态
2023-06-06
授权
状态信息
授权
2022-06-07
实质审查的生效
状态信息
实质审查的生效;IPC(主分类):B01D29/01;申请日:20220221
2022-05-20
公布
状态信息
公布
摘要
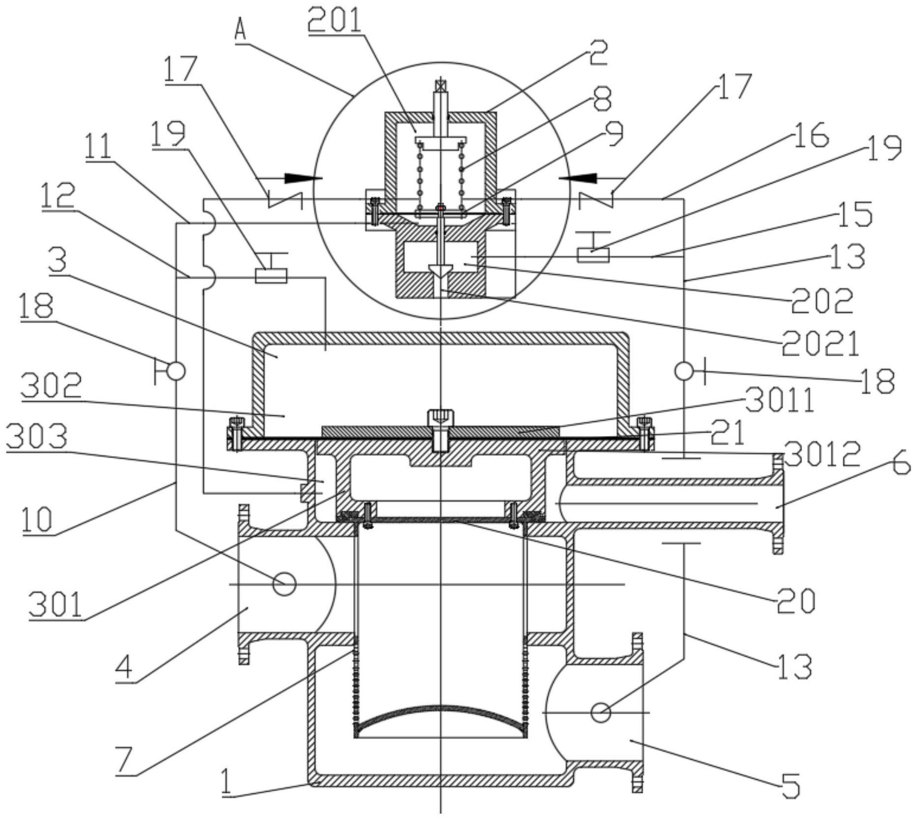
本发明提供了一种自动冲洗过滤装置,包括过滤器,控制器,所述控制器设置在过滤器外侧,通过多管路连通,所述过滤器包括进水口,出水口,出渣口和滤网,所述滤网通过控制器与过滤器管路连通之间的压差实现上升与复位,所述滤网下侧可通水,滤网上升时,进水口通过滤网与出渣口连通,清理堵塞滤网的杂质,滤网复位时,进水口通过滤网与出水口连通实现过滤,本发明所述的自动冲洗的过滤装置,该装置是纯水力自控,自动判定滤网是否堵塞,自动实现反冲洗,冲洗频次可调,还具有自动复位的功能。


