授权公布号:CN217130403U
一种多通路旋塞阀
有效
申请
2022-04-22
申请公布
1970-01-01
授权
2022-08-05
预估到期
2032-04-22
| 申请号 | CN202220951220.2 |
| 申请日 | 2022-04-22 |
| 授权公布号 | CN217130403U |
| 授权公告日 | 2022-08-05 |
| 分类号 | F16K11/085 |
| 分类 | 工程元件或部件;为产生和保持机器或设备的有效运行的一般措施;一般绝热; |
| 申请人名称 | 博纳斯威阀门股份有限公司 |
| 申请人地址 | 天津市宝坻区九园工业园区5号路 |
专利法律状态
2022-08-05
授权
状态信息
授权
摘要
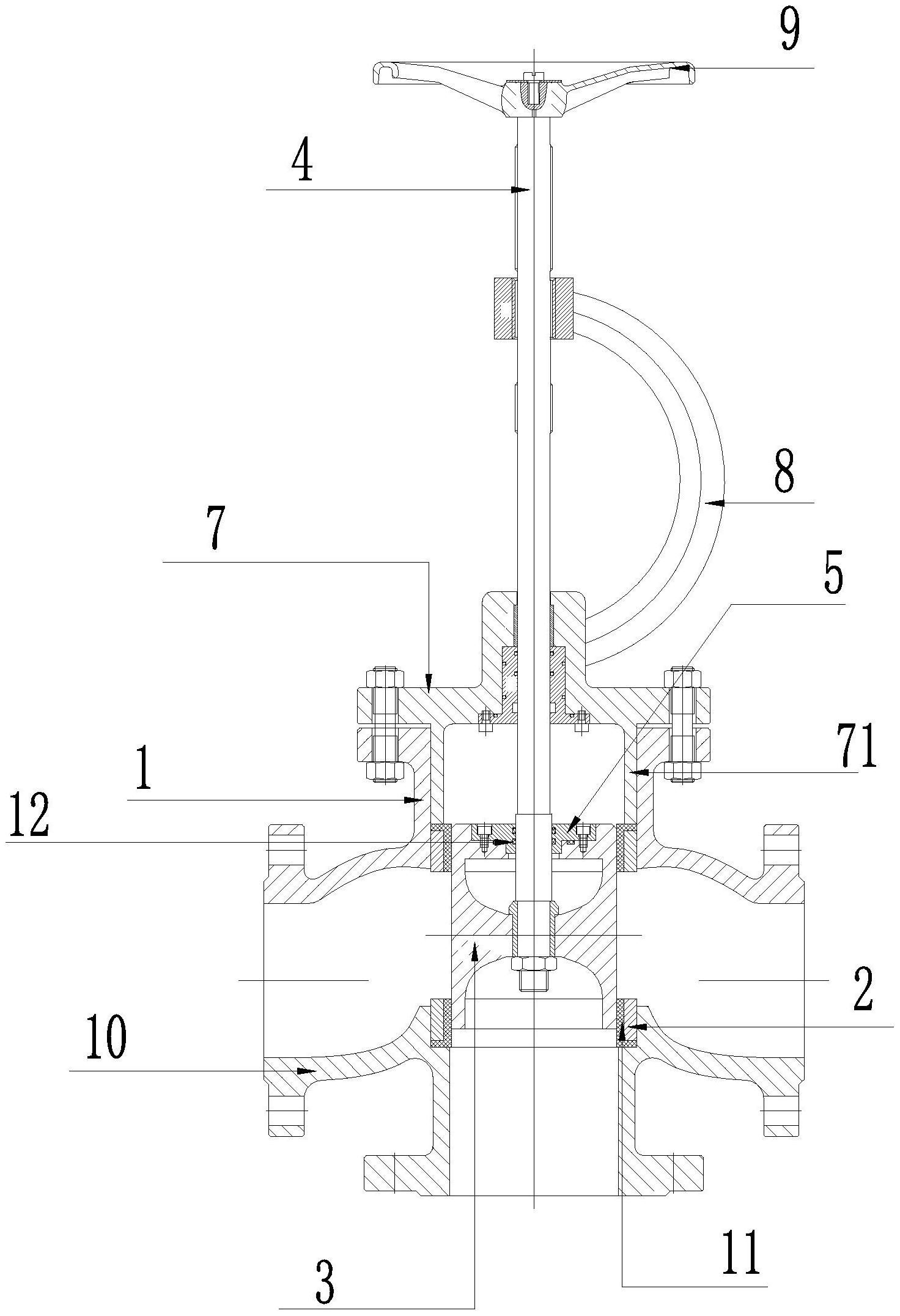
本实用新型提供了一种多通路旋塞阀,阀体的下端固定连接至入料管,阀体的上端固定安装阀盖,阀板外围通过密封胶圈密封连接至阀座内圈,且阀座外围固定连接至阀体内圈,阀轴下端外围固定连接至阀板内圈,阀轴的上端依次穿过内盖板和阀盖后固定安装手轮,且内盖板的下端固定连接至阀板的上端,阀轴外围分别通过一个第一密封圈密封连接至内盖板的中部、阀盖的中部,阀板侧壁设有第一通路孔,阀体侧壁沿径向均布若干第二通孔,且阀体外围沿周向安装若干分路管,每个分路管对应一个第二通孔。本实用新型所述的旋塞阀,该旋塞阀用于多个通路管道的介质换向、导向,通过机械的传动方式进行导向,装置可靠性高,适用广泛,操作简单,制作成本低。


