授权公布号:CN217683254U
一种多功能空气阀
有效
申请
2022-01-18
申请公布
1970-01-01
授权
2022-10-28
预估到期
2032-01-18
| 申请号 | CN202220132340.X |
| 申请日 | 2022-01-18 |
| 授权公布号 | CN217683254U |
| 授权公告日 | 2022-10-28 |
| 分类号 | F16K1/00;F16K24/04;F16K31/22;F16K33/00;F16K47/02;F16L55/055;B01D29/31 |
| 分类 | 工程元件或部件;为产生和保持机器或设备的有效运行的一般措施;一般绝热; |
| 申请人名称 | 博纳斯威阀门股份有限公司 |
| 申请人地址 | 天津市宝坻区九园工业园区5号路 |
专利法律状态
2022-10-28
授权
状态信息
授权
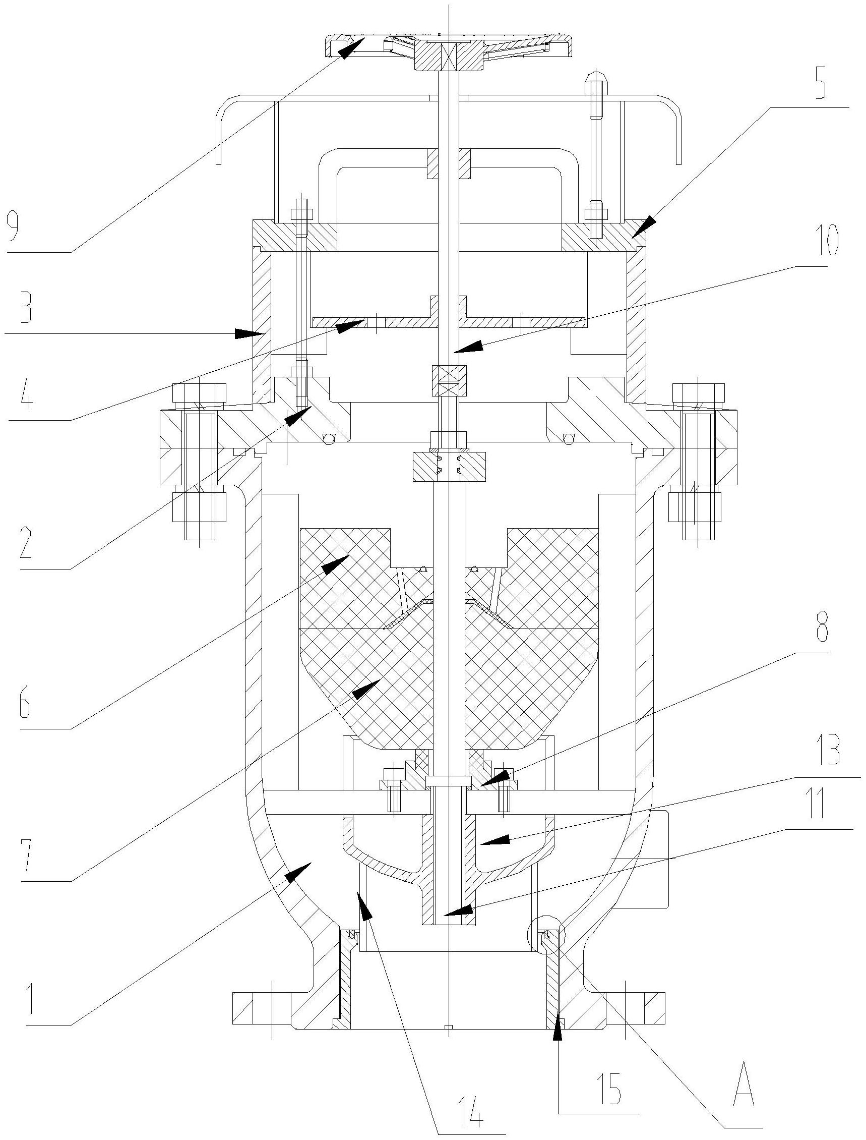
摘要
本实用新型提供了一种多功能空气阀,阀体上端固定安装阀盖,阀盖上端固定安装防水锤装置,且阀盖中部设有第一透气孔,管体的上端固定安装盖板,管体下端固定连接至阀盖的上端,盖板中部设有第二透气孔,开合滑板与管体同心设置,阀体内部设置浮体,浮体中部设有第一滑孔,开合滑板中部设有第二滑孔,中轴外围分别位于第一滑孔内、第二滑孔内,且中轴外围通过固定环转动套接至阀体内部。本实用新型所述的一种多功能空气阀,通过开合滑板的上下位移来控制通气量,具有防水锤功能,能适应更多的工况,阀门入口处设置有圆柱形过滤网,即满足全通径流道面积,又可过滤介质中的杂质,防止浮子受杂物影响。


