授权公布号:CN210069009U
一种偏心半球阀
有效
申请
2019-02-22
申请公布
1970-01-01
授权
2020-02-14
预估到期
2029-02-22
| 申请号 | CN201920222622.7 |
| 申请日 | 2019-02-22 |
| 授权公布号 | CN210069009U |
| 授权公告日 | 2020-02-14 |
| 分类号 | F16K5/06 |
| 分类 | 工程元件或部件;为产生和保持机器或设备的有效运行的一般措施;一般绝热; |
| 申请人名称 | 上海奇高阀门制造有限公司 |
| 申请人地址 | 上海市崇明区堡镇堡镇南路300号2幢103室(上海堡镇经济小区) |
专利法律状态
2020-02-14
授权
状态信息
授权
摘要
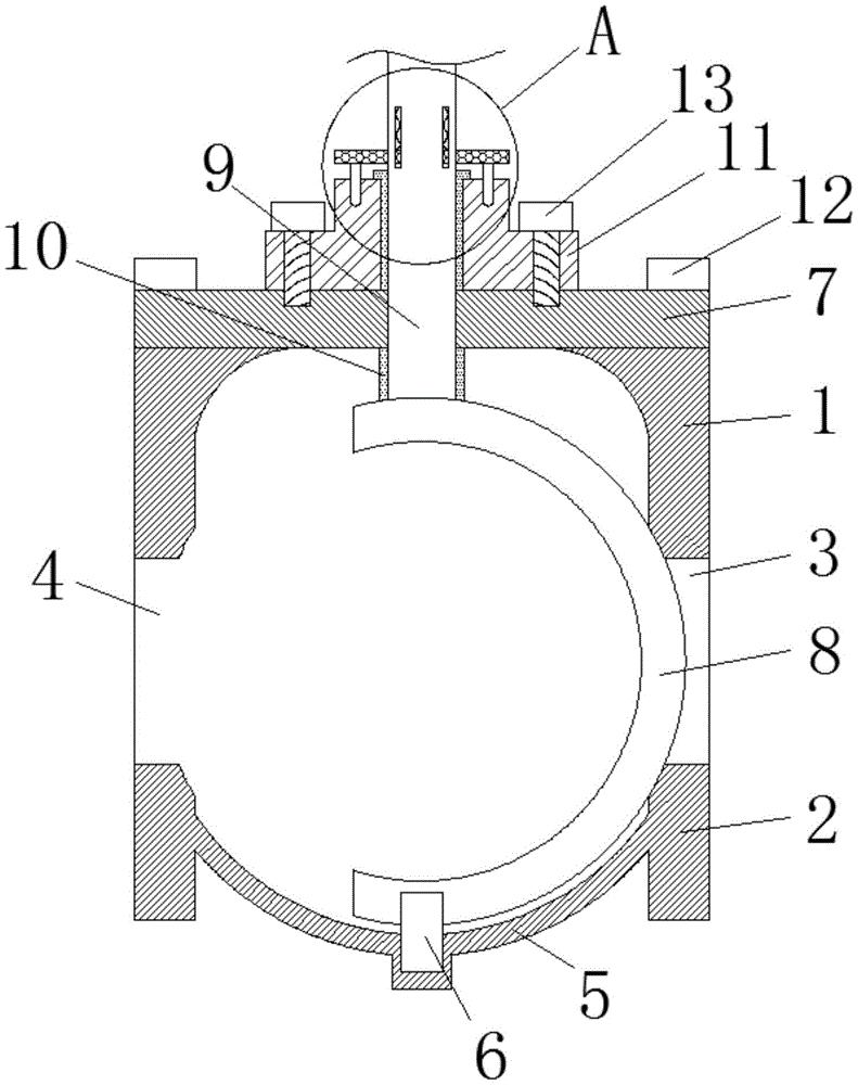
本实用新型公开了一种偏心半球阀,包括上半偏心半球阀外壳、下半偏心半球阀外壳、偏心半球阀部件,所述上半偏心半球阀外壳、下半偏心半球阀外壳、偏心半球阀部件相连,所述偏心半球阀部件位于下半偏心半球阀外壳下端。可先将其滑动环向上提起,使得限位块在矩形槽中进行垂直运动,使得压缩弹簧受力产生形变,而卡接杆将会与洞孔产生分离,紧接着工作人员才可旋转阀杆,通过阀杆与旋转环和一号限位环中的转动,带动其球体进行旋转,从而完成开关偏心半球阀的一系列操作,固定块上开设的洞孔数量较多,所以当阀杆旋转完毕后,工作人员可将其滑动环向下进行按压,使得卡接杆与洞孔进行卡接并完成对阀杆的限位工作。


