授权公布号:CN215214880U
一种高炉专用薄型电动三通球阀
有效
申请
2021-02-03
申请公布
1970-01-01
授权
2021-12-17
预估到期
2031-02-03
| 申请号 | CN202120311043.7 |
| 申请日 | 2021-02-03 |
| 授权公布号 | CN215214880U |
| 授权公告日 | 2021-12-17 |
| 分类号 | F16K11/087;F16K41/02 |
| 分类 | 工程元件或部件;为产生和保持机器或设备的有效运行的一般措施;一般绝热; |
| 申请人名称 | 凯泰阀门(集团)有限公司 |
| 申请人地址 | 上海市宝山区宝山城市工业园区丰翔路1675号 |
专利法律状态
2021-12-17
授权
状态信息
授权
摘要
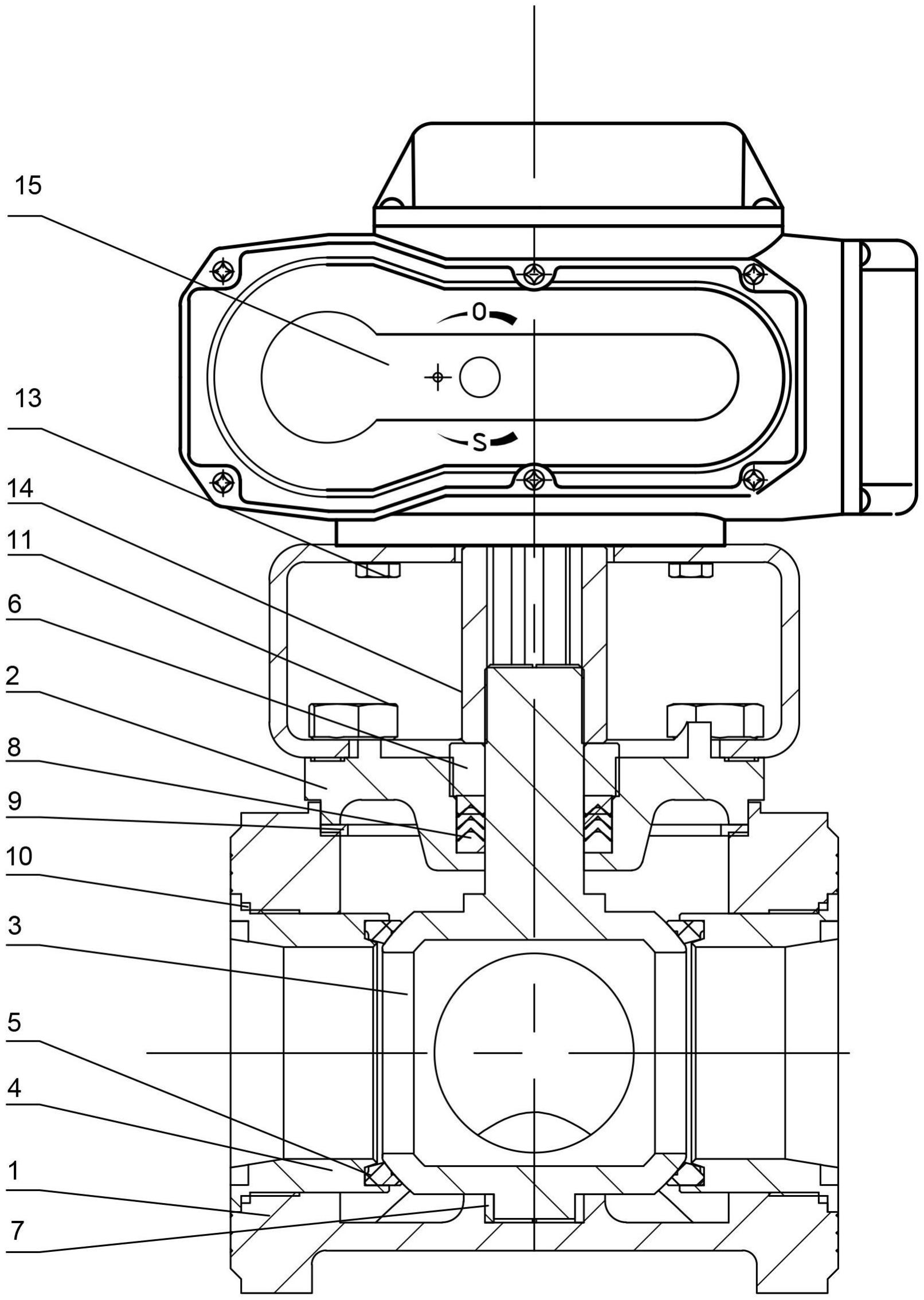
本实用新型公开一种高炉专用薄型电动三通球阀,属于阀体的技术领域,包括:阀体、球体和电动执行器,所述阀体的两端用于与管道连接,所述球体可转动地设置在所述阀体内,所述球体上设置有出液口,所述电动执行器用于驱动所述球体在所述阀体内做定轴转动。本实用新型采用非标结构长度,结构长度短于常规三通球阀的四分之一,使得安装空间小,因而大大节约了安装空间,适用于常规三通球阀在无法安装的情况。


