授权公布号:CN216942360U
一种多角度喷码机
有效
申请
2022-02-24
申请公布
1970-01-01
授权
2022-07-12
预估到期
2032-02-24
| 申请号 | CN202220383537.0 |
| 申请日 | 2022-02-24 |
| 授权公布号 | CN216942360U |
| 授权公告日 | 2022-07-12 |
| 分类号 | B41J3/01;B41J29/17;B41J2/01;B41J29/00 |
| 分类 | 印刷;排版机;打字机;模印机〔4〕; |
| 申请人名称 | 海南岛屿食品饮料有限公司 |
| 申请人地址 | 海南省文昌市潭牛镇海南岛热带食品饮料产业园 |
专利法律状态
2022-07-12
授权
状态信息
授权
摘要
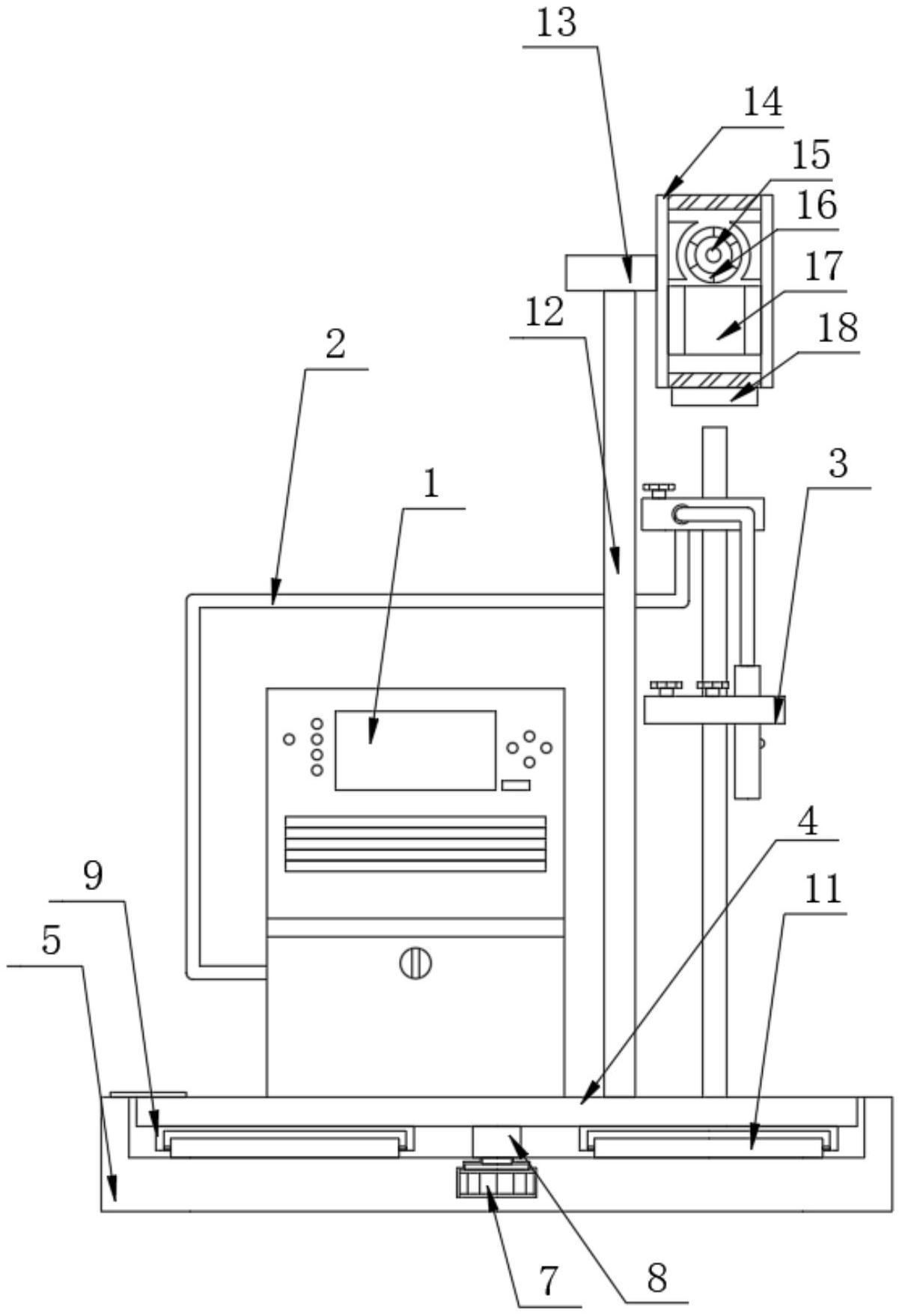
本实用新型公开了一种多角度喷码机,属于喷码机技术领域,包括控制器,所述控制器的侧面安装有传输管,所述传输管的一端安装有支架杆,所述控制器与支架杆的底部均安装有转盘块,所述转盘块的外部安装有承重块,所述承重块,所述转盘块的表面安装有用于精确位置的指针,所述承重块的内腔安装有用于驱动的转向电机,所述转向电机的输出端安装有动力传输用可旋转的转向柱,所述转向柱的顶部一端与转盘块的底部居中位置相固定;本实用新型,具有可进行360度角度调整,且调整过程简单便捷,省时省力,调节精度高、可对支架杆上的污垢进行有效去除,且可消除粘附性强的污垢,清洁效果好,清洁便捷,方便使用的优点。


