授权公布号:CN216955050U
一种罐体漏气检测装置
有效
申请
2022-01-24
申请公布
1970-01-01
授权
2022-07-12
预估到期
2032-01-24
| 申请号 | CN202220177027.8 |
| 申请日 | 2022-01-24 |
| 授权公布号 | CN216955050U |
| 授权公告日 | 2022-07-12 |
| 分类号 | G01M3/32 |
| 分类 | 测量;测试; |
| 申请人名称 | 海南岛屿食品饮料有限公司 |
| 申请人地址 | 海南省文昌市潭牛镇海南岛热带食品饮料产业园 |
专利法律状态
2022-07-12
授权
状态信息
授权
摘要
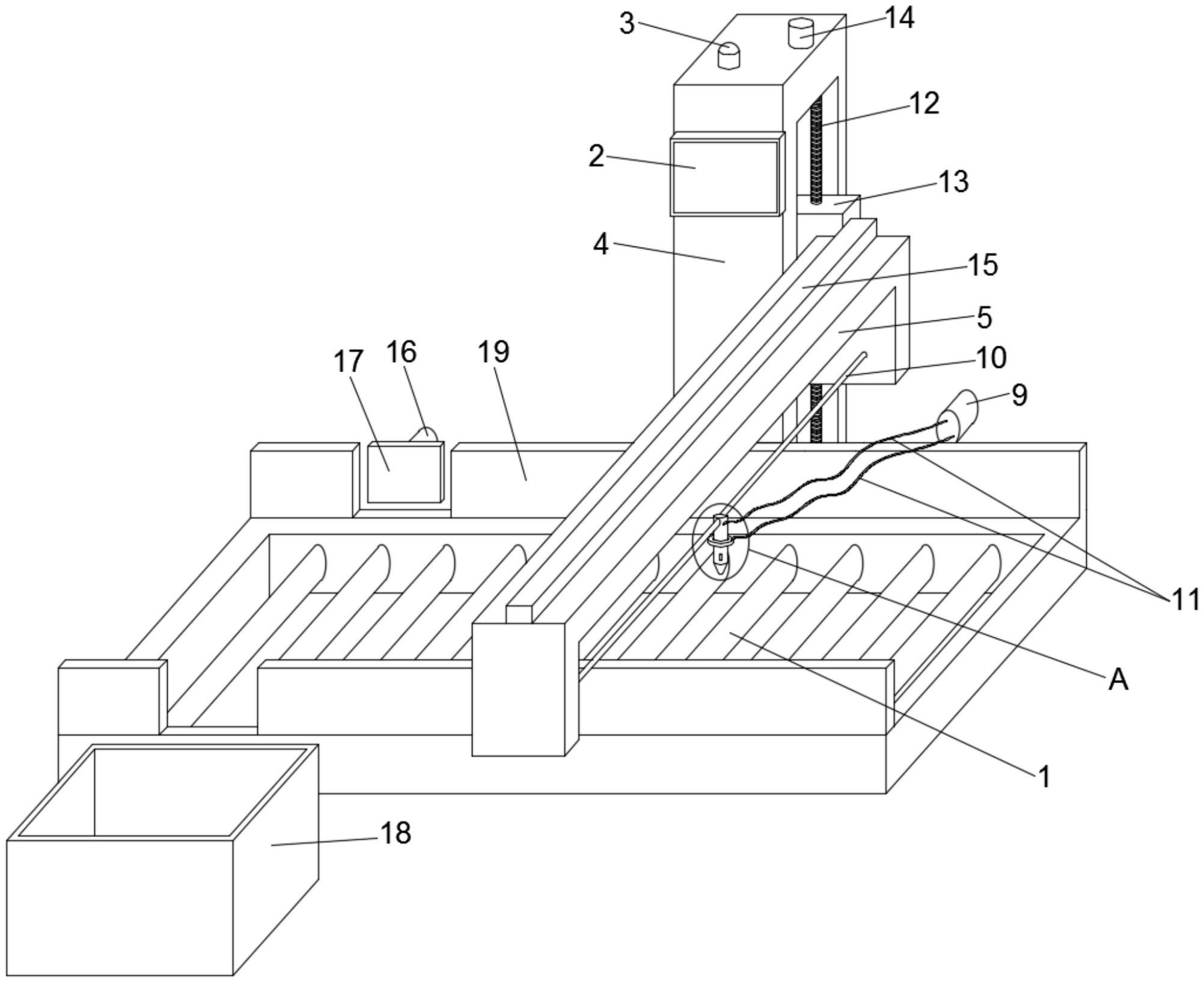
本实用新型提供一种罐体漏气检测装置,包括传送带、上位机、报警器、安装支架、升降机构以及漏气检测机构,漏气检测机构包括U型架、出气喷头、气压传感器、环形气囊以及充气机,将待检测的罐体置于传送带上进行输送,当罐体输送到U型架的底部时,升降机构带动U型架下降,使出气喷头和气压传感器伸入到罐体内部,并使环形气囊位于罐体顶部的开口处,然后上位机控制充气机对环形气囊充气,使罐体顶部开口被密封,上位机再控制充气机对出气喷头进行喷气,通过气压传感器检测罐体内的压力变化来判断罐体是否漏气,在罐体发生漏气时发出警报以提示工作人员,实现自动化的漏气检测,保证检测的准确性。


