授权公布号:CN216910542U
一种麦绿素片剂磨粉机构
有效
申请
2021-12-10
申请公布
1970-01-01
授权
2022-07-08
预估到期
2031-12-10
| 申请号 | CN202123099092.8 |
| 申请日 | 2021-12-10 |
| 授权公布号 | CN216910542U |
| 授权公告日 | 2022-07-08 |
| 分类号 | B02C19/06;B02C23/00 |
| 分类 | 破碎、磨粉或粉碎;谷物碾磨的预处理; |
| 申请人名称 | 杭州博可生物科技股份有限公司 |
| 申请人地址 | 浙江省杭州市西湖区转塘街道河山街176号 |
专利法律状态
2022-07-08
授权
状态信息
授权
摘要
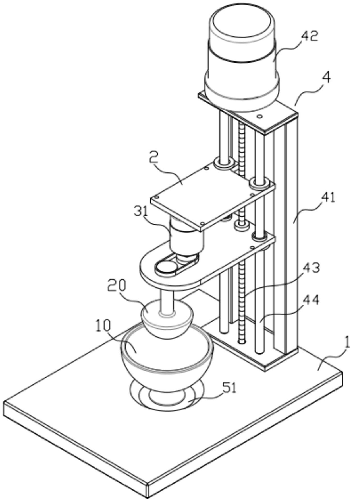
本实用新型涉及片剂检验辅助设备技术领域,公开了一种麦绿素片剂磨粉机构,包括用于放置研钵(10)的底座(1)以及固定钵杵(20)的固定架(2),还包括用于带动钵杵(20)旋转的驱动组件(3)及用于带动钵杵(20)升降的升降组件(4),所述驱动组件(3)包括安装于固定架(2)上的旋转电机(31),旋转电机(31)通过齿轮链条结构与钵杵(20)连接,旋转电机(31)工作带动钵杵(20)旋转以实现快速磨粉;该磨粉机构结构简单,可以配合实验室现有研钵和钵杵使用实现快速磨粉,磨粉效率高。


