授权公布号:CN220169899U
一种物料悬浮烘干装置
有效
申请
2023-06-26
申请公布
1970-01-01
授权
2023-12-12
预估到期
2033-06-26
| 申请号 | CN202321634443.7 |
| 申请日 | 2023-06-26 |
| 授权公布号 | CN220169899U |
| 授权公告日 | 2023-12-12 |
| 分类号 | F26B21/00;F26B11/04 |
| 分类 | 干燥; |
| 申请人名称 | 杭州博可生物科技股份有限公司 |
| 申请人地址 | 浙江省杭州市西湖区转塘街道河山街176号 |
专利法律状态
2023-12-12
授权
状态信息
授权
摘要
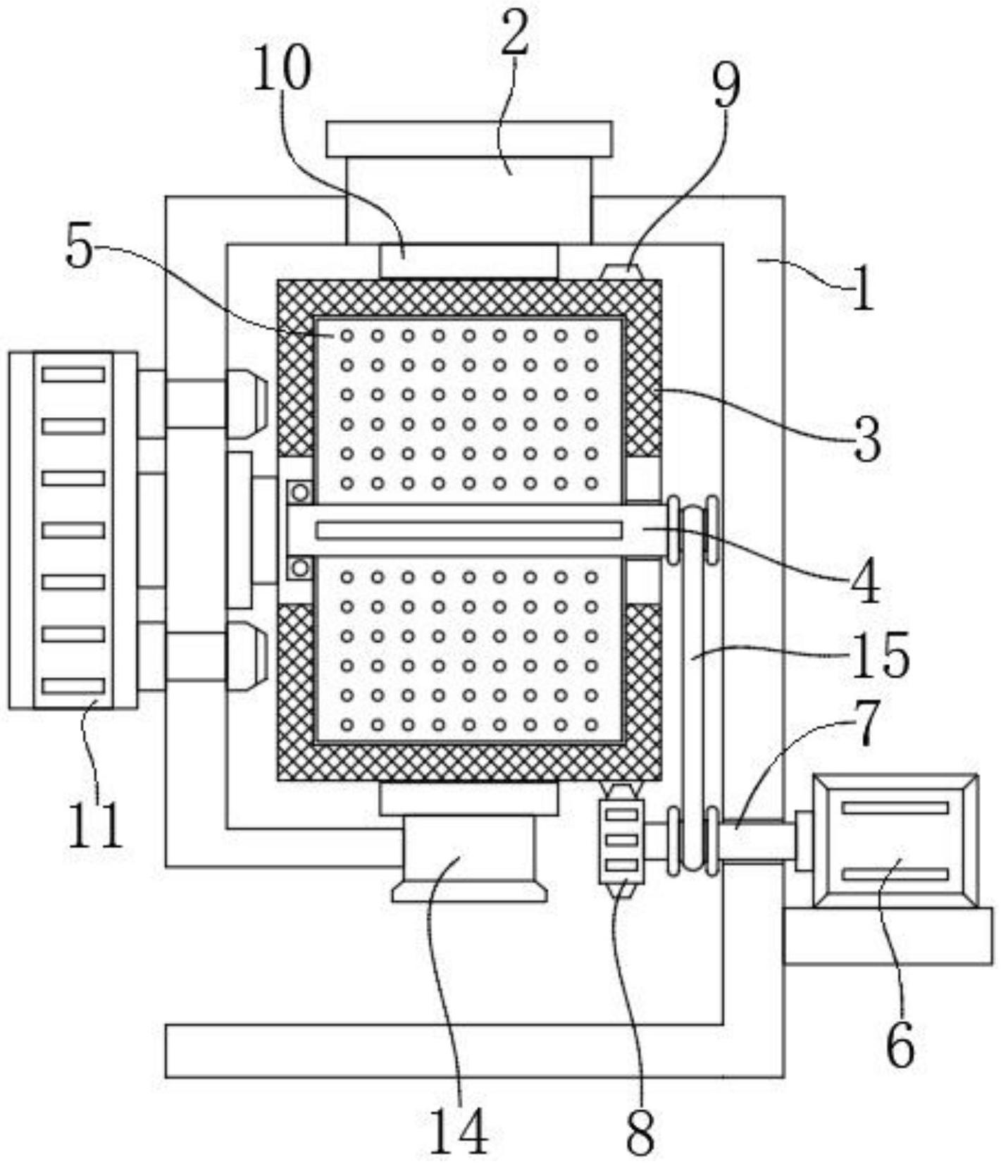
本实用新型公开了一种物料悬浮烘干装置,所述烘干箱的顶部固定有储料箱,所述烘干箱的内部旋转固定有烘干筒,所述烘干筒的表面设置为网状,所述烘干筒的内部固定有固定轴,所述固定轴的外侧固定有挡板,所述烘干箱的后侧固定有电机,所述电机的输出轴固定连接有传动轴。本实用新型通过设置有烘干筒,该装置通过烘干风机对烘干筒内的物料进行烘干,通过电机驱动与各组件之间配合带动烘干筒持续旋转,通过此设置可使物料在烘干筒的内部翻倒,物料在烘干风机的作用下翻转并飞扬,以此来实现悬浮烘干,有效提高了物料的烘干效率,同时旋转的烘干筒与储料箱以及出料口配合可实现自动进出料,使该烘干装置使用时更加省时省力。


