授权公布号:CN216926582U
一种测定大麦苗粉SOD含量的检测设备
有效
申请
2021-12-31
申请公布
1970-01-01
授权
2022-07-08
预估到期
2031-12-31
| 申请号 | CN202123425507.6 |
| 申请日 | 2021-12-31 |
| 授权公布号 | CN216926582U |
| 授权公告日 | 2022-07-08 |
| 分类号 | G01N21/78 |
| 分类 | 测量;测试; |
| 申请人名称 | 杭州博可生物科技股份有限公司 |
| 申请人地址 | 浙江省杭州市西湖区转塘街道河山街176号 |
专利法律状态
2022-07-08
授权
状态信息
授权
摘要
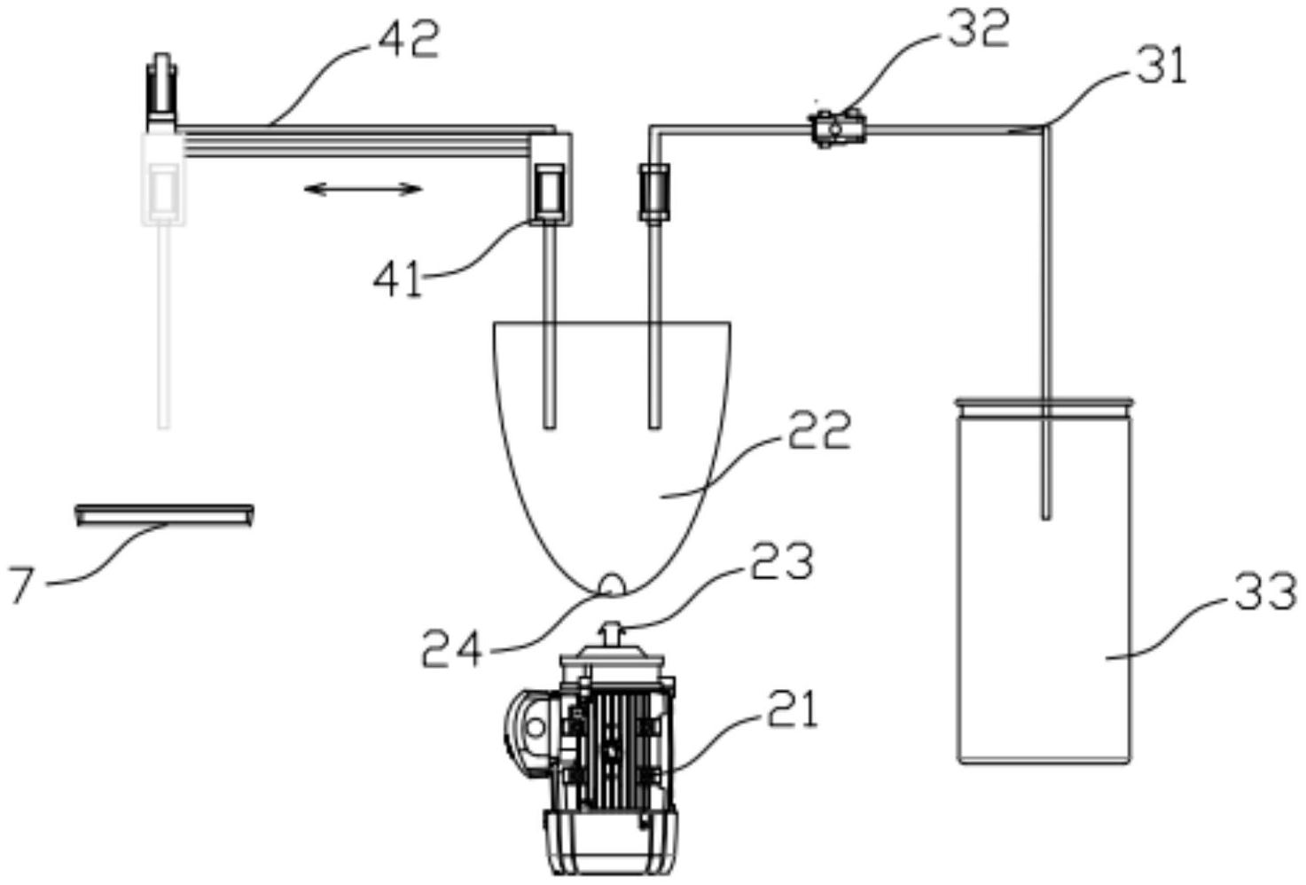
本实用新型涉及SOD检测技术领域,公开了一种测定大麦苗粉SOD含量的检测设备,包括壳体(1),所述壳体(1)内设有离心混样机构(2)、加液机构(3)、取样机构(4)、控制系统(5)及检测区(6),离心混样机构(2)、加液机构(3)、取样机构(4)均与控制系统(5)电连接,控制系统(5)控制离心混样机构(2)、加液机构(3)、取样机构(4)依次进行混样与离心、加液、取样操作,以实现对大麦苗粉中SOD的检测;该检测设备能够自动实现对大麦苗粉与溶剂进行混样与离心、加液、取样操作,自动化程度高,能够提高对大麦苗粉中SOD含量的检测效率。


