授权公布号:CN220665235U
一种植物精油提取装置
有效
申请
2023-07-14
申请公布
1970-01-01
授权
2024-03-26
预估到期
2033-07-14
| 申请号 | CN202321858563.5 |
| 申请日 | 2023-07-14 |
| 授权公布号 | CN220665235U |
| 授权公告日 | 2024-03-26 |
| 分类号 | C11B9/02 |
| 分类 | 动物或植物油、脂、脂肪物质或蜡;由此制取的脂肪酸;洗涤剂;蜡烛; |
| 申请人名称 | 杭州博可生物科技股份有限公司 |
| 申请人地址 | 浙江省杭州市西湖区转塘街道河山街176号 |
专利法律状态
2024-03-26
授权
状态信息
授权
摘要
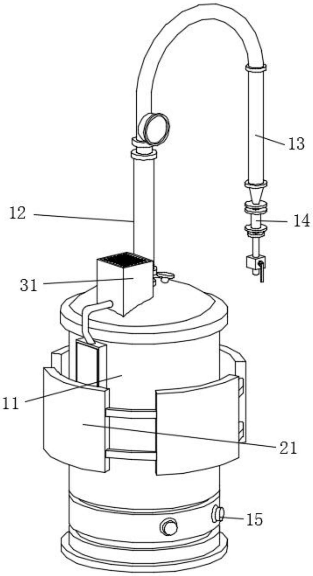
本实用新型公开了一种植物精油提取装置,包括:提取组件;所述提取组件包含罐体与排气管;防护组件;所述防护组件包括安装于罐体外围左右侧的一组防护板、连接于罐体外围前后侧的一组连接板、设置于防护板两侧的连接杆、安装于防护板与连接板内侧的连接块、连接于连接块前方的保护块;包括防烫组件。本实用新型通过在罐体的外围设置防护板与连接板进行保护,防护板通过连接杆与连接板相连接,且板内侧面均设置保护块进行保护;同时排气管外围设置防烫组件对蒸汽正向引导,以解决提取装置通过运输车对装置远距离运输,罐体部件容易受到损坏;同时装置在使用时,顶部的排气管斜向插入罐体,使得喷出的蒸汽,容易使路过的的员工烫伤的问题。


