授权公布号:CN215098368U
一种糖果生产用自称量定量封糖装置
有效
申请
2021-03-19
申请公布
1970-01-01
授权
2021-12-10
预估到期
2031-03-19
| 申请号 | CN202120565296.7 |
| 申请日 | 2021-03-19 |
| 授权公布号 | CN215098368U |
| 授权公告日 | 2021-12-10 |
| 分类号 | B65B1/12;B65B1/32;B65B43/54 |
| 分类 | 输送;包装;贮存;搬运薄的或细丝状材料; |
| 申请人名称 | 济宁恒康生物医药有限公司 |
| 申请人地址 | 山东省济宁市嘉祥县大张楼镇马龙岗中心路1号 |
专利法律状态
2021-12-10
授权
状态信息
授权
2021-12-10
授权
状态信息
授权
摘要
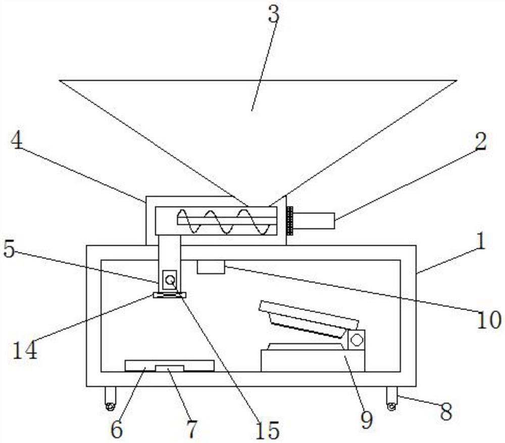
本实用新型涉及糖果生产技术领域,公开了一种糖果生产用自称量定量封糖装置,包括框架,所述框架顶部固定安装有料筒,所述料筒顶部右侧连通设置有料斗,所述料筒右外壁固定安装有电机,所述电机的传动轴左侧传动连接有转杆,所述转杆外侧固定安装有绞龙,所述料筒底壁左侧和框架顶壁内左侧均开设有出料口,所述料筒和框架的出料口内固定安装有导料管。本实用新型通过设置有绞龙和料斗,将糖果堆积在料斗内,可通过电机的传动轴带动绞龙转动,绞龙带动向左输送糖果,并由导料管下落至包装袋内,该种方式替代现有双手拿持并倾斜容器倾倒糖果方式,有效降低糖果添加工作负担,使装置更人性化。


