授权公布号:CN206925920U
一种人参切片装置
有效
申请
2017-03-16
申请公布
1970-01-01
授权
2018-01-26
预估到期
2027-03-16
| 申请号 | CN201720257877.8 |
| 申请日 | 2017-03-16 |
| 授权公布号 | CN206925920U |
| 授权公告日 | 2018-01-26 |
| 分类号 | B26D1/08;B26D7/06 |
| 分类 | 手动切割工具;切割;切断; |
| 申请人名称 | 广州天金健康药业有限公司 |
| 申请人地址 | 广东省广州市荔湾区东沙环翠北路25号B栋3座(临时经营场所有效期至2018年10月7日) |
专利法律状态
2018-01-26
授权
状态信息
授权
摘要
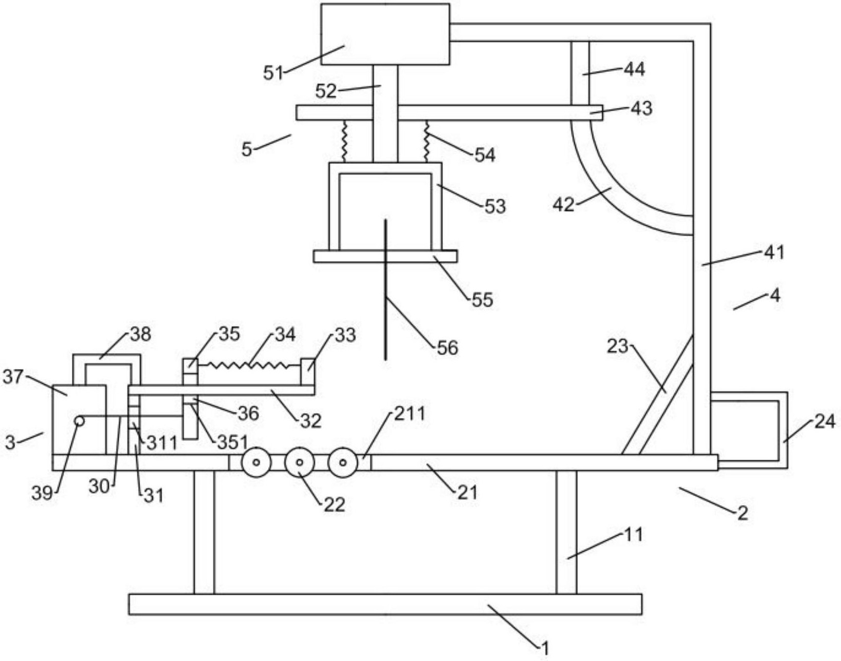
一种人参切片装置,包括底板、支撑板装置、推动装置、支架装置、切片结构,底板上设有第一支撑杆,支撑板装置包括支撑板、第一滚轮、第一固定杆及第一支架,推动装置包括第一竖杆、第一横杆、第二竖杆、第一弹簧、推板、滑块、电机、输出轴、第二支架及拉线,支架装置包括第三支架、第二固定杆、定位杆及第三固定杆,切片结构包括电缸、位于所述电缸下方的推动杆、位于所述推动杆下方的第四支架、位于所述推动杆左右两侧的第二弹簧、位于所述第四支架下方的固定板及设置于所述固定板上的切割刀。本实用新型能够对人参进行有效的切片作业,切片效率高,并且人工劳动强度低,能够很好的满足大规模人参切片的需要。


