授权公布号:CN216025256U
一种医用胶囊药粉冲击式粉碎机
有效
申请
2021-09-26
申请公布
1970-01-01
授权
2022-03-15
预估到期
2031-09-26
| 申请号 | CN202122331993.9 |
| 申请日 | 2021-09-26 |
| 授权公布号 | CN216025256U |
| 授权公告日 | 2022-03-15 |
| 分类号 | B02C13/18;B02C13/28;B02C13/286 |
| 分类 | 破碎、磨粉或粉碎;谷物碾磨的预处理; |
| 申请人名称 | 上海复旦奥医医学科技有限公司 |
| 申请人地址 | 上海市徐汇区医学院路138号上医大东十号楼 |
专利法律状态
2022-03-15
授权
状态信息
授权
摘要
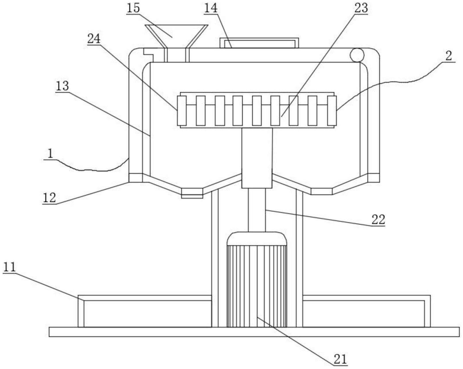
本实用新型适用于垃圾处理技术领域,提供了一种医用胶囊药粉冲击式粉碎机,包括容纳组件和粉碎组件,所述容纳组件包括底座,所述容纳组件包括底座、粉碎箱体、齿圈和入料漏斗,所述底座固定于粉碎箱体底部,所述齿圈固定于粉碎箱体内壁,所述入料漏斗固定于底座顶部,所述粉碎组件包括粉碎电机、传动轴、粉碎盘、锤头和上盘,传动轴的一端传动连接于粉碎电机的输出端,另一端贯穿底座并固定于粉碎盘;在使用的过程中,当锤头长时间使用的过程中出现损坏时,工作人员便可将上盘从粉碎盘上拆下,随后便可将粉碎盘和上盘之间的锤头取出,并将新的锤头重新放置在粉碎盘和上盘之间,并再次将上盘进行安装,整个过程简单方便,避免了繁琐的更换过程。


