授权公布号:CN215709846U
一种适用于多条卷纸工艺线的转运装置
有效
申请
2021-09-22
申请公布
1970-01-01
授权
2022-02-01
预估到期
2031-09-22
| 申请号 | CN202122301316.2 |
| 申请日 | 2021-09-22 |
| 授权公布号 | CN215709846U |
| 授权公告日 | 2022-02-01 |
| 分类号 | B65G47/74;B65G47/22;B65G47/64;B65G47/248 |
| 分类 | 输送;包装;贮存;搬运薄的或细丝状材料; |
| 申请人名称 | 四川石化雅诗纸业有限公司 |
| 申请人地址 | 四川省成都市新津工业园区A区希望路912号 |
专利法律状态
2022-02-01
授权
状态信息
授权
摘要
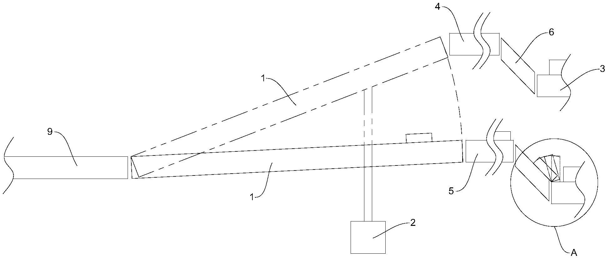
本实用新型属于卷纸转运设备技术领域,公开了一种适用于多条卷纸工艺线的转运装置,包括至少两条中段传送道,以及前段传送道和换道机构;所述换道机构用于将前段传送道与其中一条中段传送道对接连通;任意一条中段传送道的末端通过抽立机构连通一条末段传送道。本实用新型能够在节省空间资源和时间成本的基础上,实现多种卷纸工艺线的自由选择。


