授权公布号:CN215623019U
一种纸巾流水线转运分道装置
有效
申请
2021-09-22
申请公布
1970-01-01
授权
2022-01-25
预估到期
2031-09-22
| 申请号 | CN202122294159.7 |
| 申请日 | 2021-09-22 |
| 授权公布号 | CN215623019U |
| 授权公告日 | 2022-01-25 |
| 分类号 | B65B35/24;B65B25/14;B65G47/74 |
| 分类 | 输送;包装;贮存;搬运薄的或细丝状材料; |
| 申请人名称 | 四川石化雅诗纸业有限公司 |
| 申请人地址 | 四川省成都市新津工业园区A区希望路912号 |
专利法律状态
2022-01-25
授权
状态信息
授权
摘要
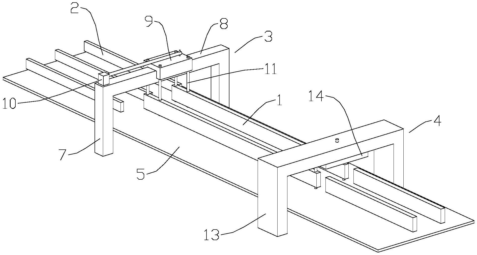
本实用新型属于纸巾转运设备技术领域,公开了一种纸巾流水线转运分道装置,包括转运道、后岔道、分道机构和衔接机构;所述后岔道包括至少两条分道;所述分道机构设置于转运道的末端,用于改变转运道的位置,连通其中一条分道;所述衔接机构设置于转运道的首端,用于配合分道机构,辅助转运道转动;每条分道远离转运道的一端均设有包装设备。本实用新型通过至少两个分道为流水线增设包装设备提供了条件,由此提高成品生产速度,避免停机而降低的工作效率。


