授权公布号:CN214687520U
一种流延机用的移动导向结构
有效
申请
2020-11-18
申请公布
1970-01-01
授权
2021-11-12
预估到期
2030-11-18
| 申请号 | CN202022665931.7 |
| 申请日 | 2020-11-18 |
| 授权公布号 | CN214687520U |
| 授权公告日 | 2021-11-12 |
| 分类号 | B29C41/34;B29C41/24;B29L7/00N |
| 分类 | 塑料的加工;一般处于塑性状态物质的加工; |
| 申请人名称 | 湖北省鸿泰世家环保塑业有限责任公司 |
| 申请人地址 | 湖北省武汉市东西湖区径河街道办事处通源路1号 |
专利法律状态
2021-11-12
授权
状态信息
授权
摘要
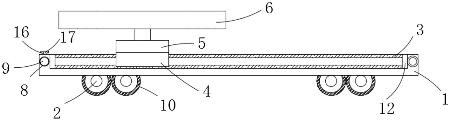
本实用新型公开了一种流延机用的移动导向结构,包括底座,所述底座对称设置有两组,所述底座底部固定安装有导向轮,所述底座上开设有凹槽,所述凹槽内部安装有电动滑台,所述电动滑台的滑动平台上固定安装有液压缸,所述液压缸的液压杆上端固定连接有支撑平台,所述支撑平台一侧一体成型设置防护板,两组所述底座一端对应开设有圆形通孔,所述圆形通孔内部滑动插接有限位杆,所述限位杆一端外壁设置有限位纹,所述限位杆另一端设置有挡头;本装置区别于传统的移动设备,结构简单,便于安装使用和拆卸收纳,能够根据不同体积的流延机进行调整使用,有着极高的实用性。


