授权公布号:CN214930779U
一种枕式包装机的多功能防尘装置
有效
申请
2020-12-01
申请公布
1970-01-01
授权
2021-11-30
预估到期
2030-12-01
| 申请号 | CN202022848170.9 |
| 申请日 | 2020-12-01 |
| 授权公布号 | CN214930779U |
| 授权公告日 | 2021-11-30 |
| 分类号 | B65B1/28;B65B1/04 |
| 分类 | 输送;包装;贮存;搬运薄的或细丝状材料; |
| 申请人名称 | 湖北省鸿泰世家环保塑业有限责任公司 |
| 申请人地址 | 湖北省武汉市东西湖区径河街道办事处通源路1号 |
专利法律状态
2021-11-30
授权
状态信息
授权
摘要
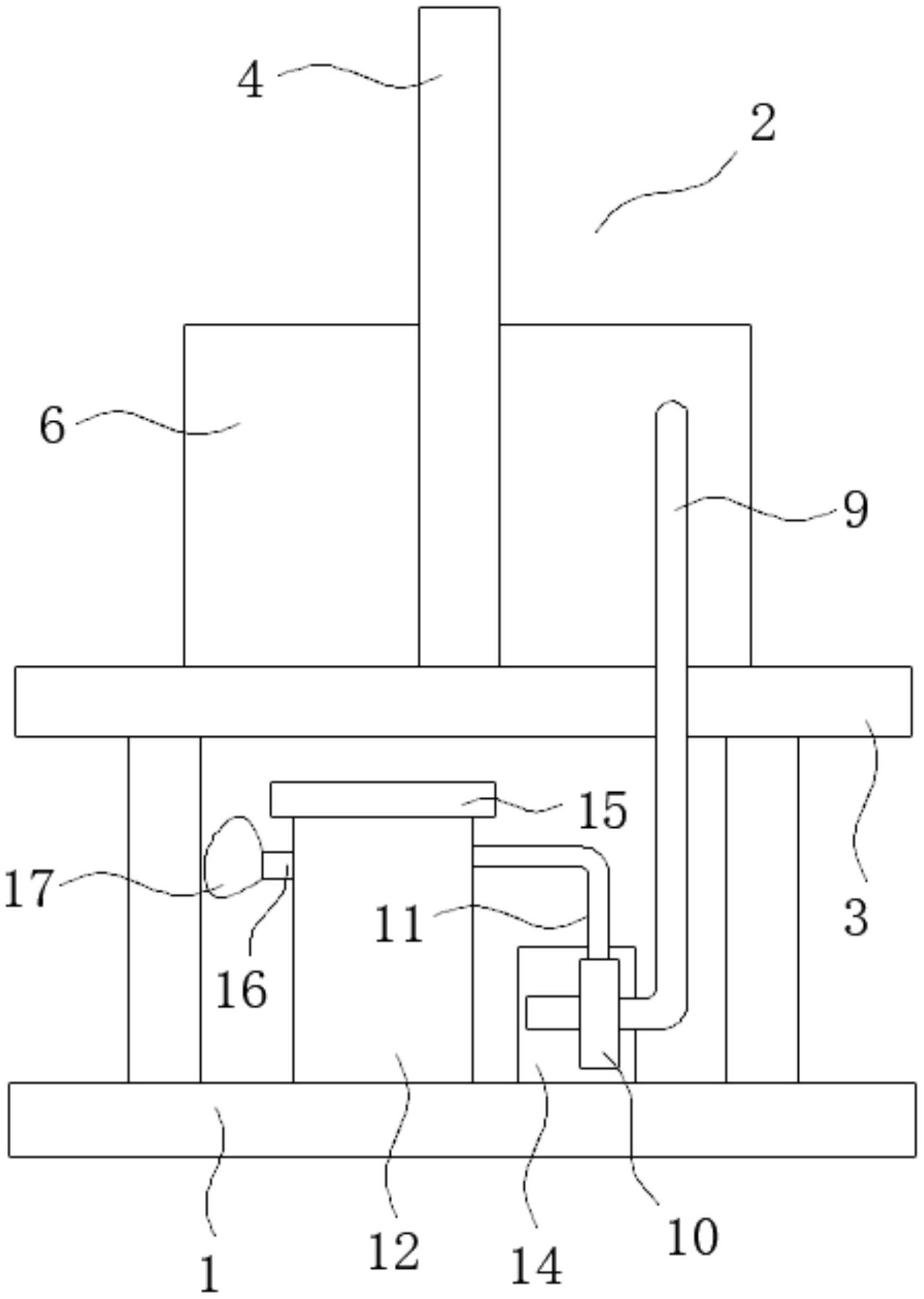
本实用新型公开了一种枕式包装机的多功能防尘装置,包括底板、防尘罩、风机和集尘箱,所述底板顶部一侧安装有包装机本体,所述包装机本体包括工作台,所述工作台顶部一侧安装有龙门架,所述龙门架内侧顶部固定安装有电动推杆,所述电动推杆设置有两组,两组所述电动推杆一端均与防尘罩顶部一侧固定连接,所述防尘罩一侧固定连接有连接管,所述连接管一端固定安装有吸尘罩,所述连接管另一端固定连通有软管,所述软管一端与风机一侧固定连通,所述风机顶部一侧通过除尘管与集尘箱一侧固定连通。本实用新型通过在枕式包装机结构上增加防尘机构,实现进行包装过程中,灰尘不会轻易散发到空气中,更利于工作的进行。


