授权公布号:CN214083175U
一种垃圾袋制袋机传送结构
有效
申请
2020-11-04
申请公布
1970-01-01
授权
2021-08-31
预估到期
2030-11-04
| 申请号 | CN202022520936.0 |
| 申请日 | 2020-11-04 |
| 授权公布号 | CN214083175U |
| 授权公告日 | 2021-08-31 |
| 分类号 | B31B70/92 |
| 分类 | 纸品制作;纸的加工; |
| 申请人名称 | 湖北省鸿泰世家环保塑业有限责任公司 |
| 申请人地址 | 湖北省武汉市东西湖区径河街道办事处通源路1号 |
专利法律状态
2021-08-31
授权
状态信息
授权
摘要
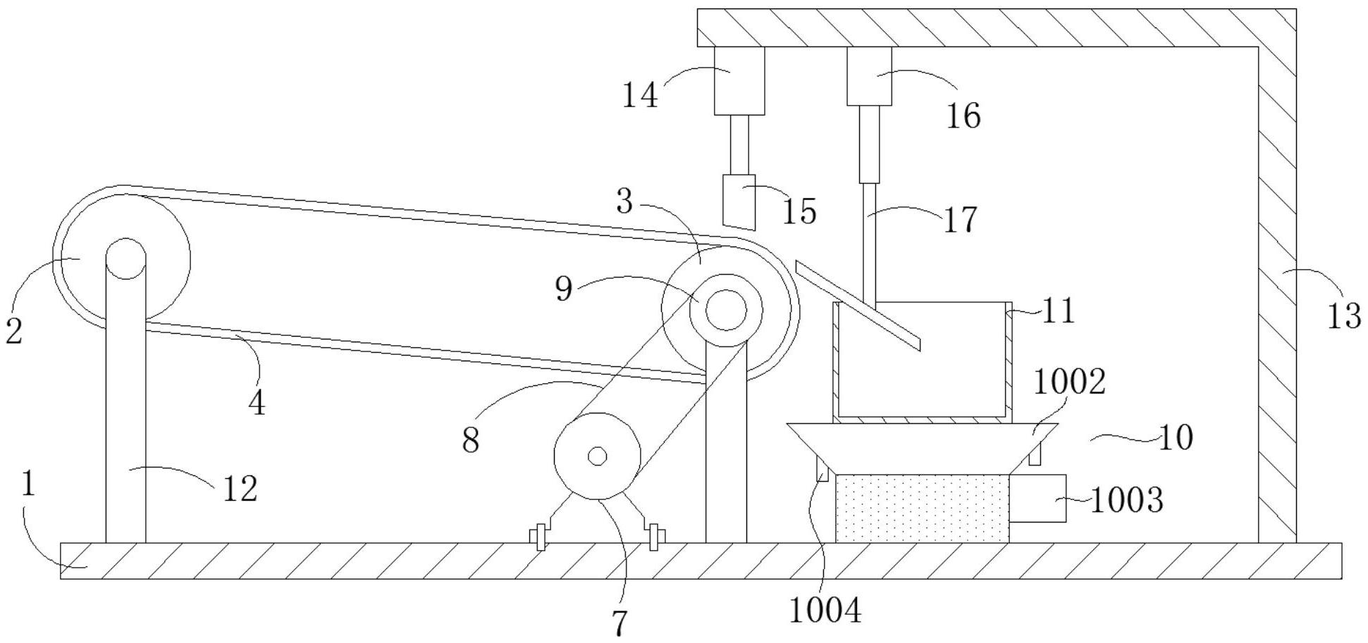
本实用新型公开了一种垃圾袋制袋机传送结构,包括传送底板,所述传送底板上表面分别转动安装有第一传送辊和第二传送辊,所述第一传送辊和第二传送辊通过传送带传动连接,所述传送底板上表面固定安装有电机,所述电机的输出轴端固定连接有转轴,所述转轴远离电机一端固定套设有第一带轮,所述第二传送辊一端固定套设有第二带轮,所述第一带轮和第二带轮通过皮带传动连接,所述传送底板上表面一侧安装有称重组件,所述称重组件包括称重台,所述称重台底部安装有压力传感开关,通过称重组件对垃圾袋的数量和重量进行精准控制,无需人工后期整理和重新数数,省时省力,人工劳动强度小提高了了垃圾袋生产加工的效率,降低了劳动成本。


