授权公布号:CN213972017U
一种高效塑料结粒机
有效
申请
2020-11-04
申请公布
1970-01-01
授权
2021-08-17
预估到期
2030-11-04
| 申请号 | CN202022520960.4 |
| 申请日 | 2020-11-04 |
| 授权公布号 | CN213972017U |
| 授权公告日 | 2021-08-17 |
| 分类号 | B29B9/06;B29B13/10 |
| 分类 | 塑料的加工;一般处于塑性状态物质的加工; |
| 申请人名称 | 湖北省鸿泰世家环保塑业有限责任公司 |
| 申请人地址 | 湖北省武汉市东西湖区径河街道办事处通源路1号 |
专利法律状态
2021-08-17
授权
状态信息
授权
摘要
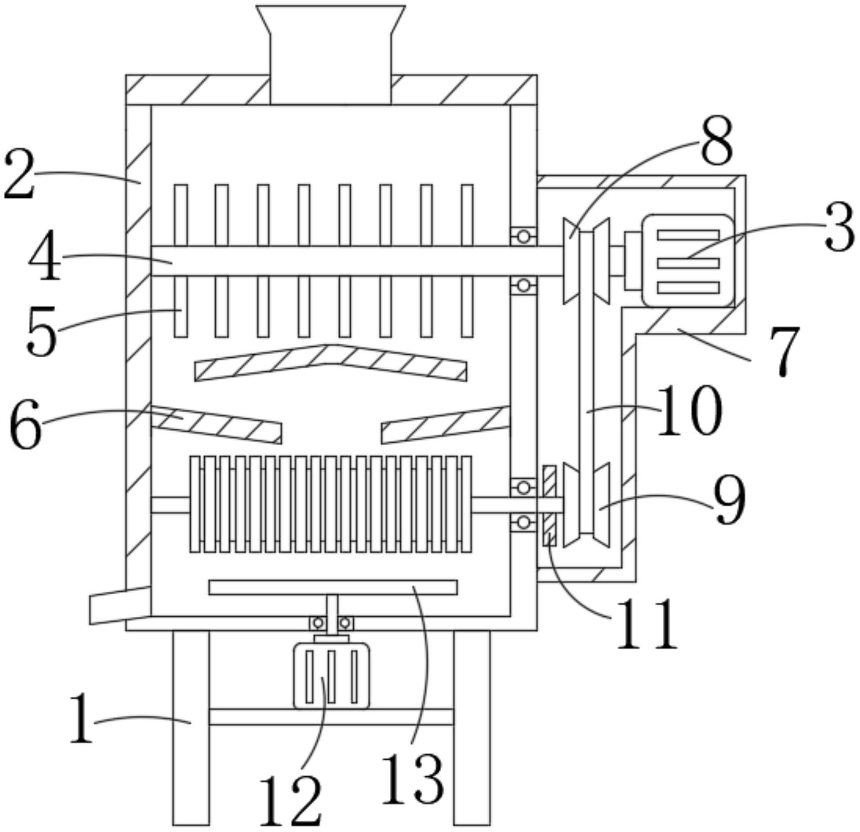
本实用新型公开了一种高效塑料结粒机,包括支架,其所述支架的上端固定安装有箱体,所述第一电机固定安装于固定箱的侧壁,所述第一电机输出轴的一端键连接有搅拌轴,所述第一皮带轮通过皮带与第二皮带轮传动连接,所述第二皮带轮的侧壁固定安装有第一旋转轴,所述第一齿轮与第二齿轮啮合,所述第二齿轮的侧壁固定安装有第二旋转轴,所述支架的侧壁固定安装有第二电机。通过第一搅拌刀与第二搅拌刀配合,使搅拌粉碎更均匀,第一挤压轮与两组第二挤压轮配合,能同时挤压两组物料,一定程度上提高了工作效率,通过第一电机带动进行搅拌工作和挤压工作,一定程度上节约了能源,降低了生产成本。


