授权公布号:CN203618893U
一种拉头
失效
申请
2013-12-05
申请公布
1970-01-01
授权
2014-06-04
预估到期
2023-12-05
| 申请号 | CN201320799703.6 |
| 申请日 | 2013-12-05 |
| 授权公布号 | CN203618893U |
| 授权公告日 | 2014-06-04 |
| 分类号 | A44B19/26 |
| 分类 | 服饰缝纫用品;珠宝; |
| 申请人名称 | 佛山市顺德区泰纶拉链有限公司 |
| 申请人地址 | 广东省佛山市顺德区勒流镇龙升工业区9-1号 |
专利法律状态
2023-12-22
专利权的终止
状态信息
专利权有效期届满;IPC(主分类):A44B 19/26;专利号:ZL2013207997036;申请日:20131205;授权公告日:20140604;终止日期:
2014-06-04
授权
状态信息
授权
摘要
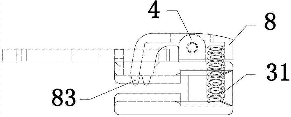
本实用新型涉及一种拉头,包括前端宽、后端窄的上翼板和下翼板,所述上翼板和下翼板相对布置并通过立柱连接;所述上翼板上安装有帽盖,帽盖与上翼板之间安装有拉片,所述上翼板的前端设有安装台,安装台上设有轴孔;上翼板的后端设有安装口,安装口的端部设有限位梁;所述帽盖前端的内壁设有转轴,该转轴嵌入安装台的轴孔内;帽盖后端往其长度方向突出有限位块,限位块穿过安装口置于限位梁下方;帽盖后端的侧壁设有锁尖,锁尖的尖端朝向下翼板;还包括弹性机构,弹性机构弹性推/拉帽盖围绕转轴转动,使限位块和限位梁保持分离;上述结构使得拉头组装方便,安装牢固。


