授权公布号:CN217814208U
顶升液压结构和顶升液压设备
有效
申请
2022-07-06
申请公布
1970-01-01
授权
2022-11-15
预估到期
2032-07-06
| 申请号 | CN202221732434.7 |
| 申请日 | 2022-07-06 |
| 授权公布号 | CN217814208U |
| 授权公告日 | 2022-11-15 |
| 分类号 | F15B11/22;F15B13/06;B66F7/20;B66F7/28 |
| 分类 | 流体压力执行机构;一般液压技术和气动技术; |
| 申请人名称 | 山东金钟科技集团股份有限公司 |
| 申请人地址 | 山东省济南市市中区英雄山路147号 |
专利法律状态
2022-11-15
授权
状态信息
授权
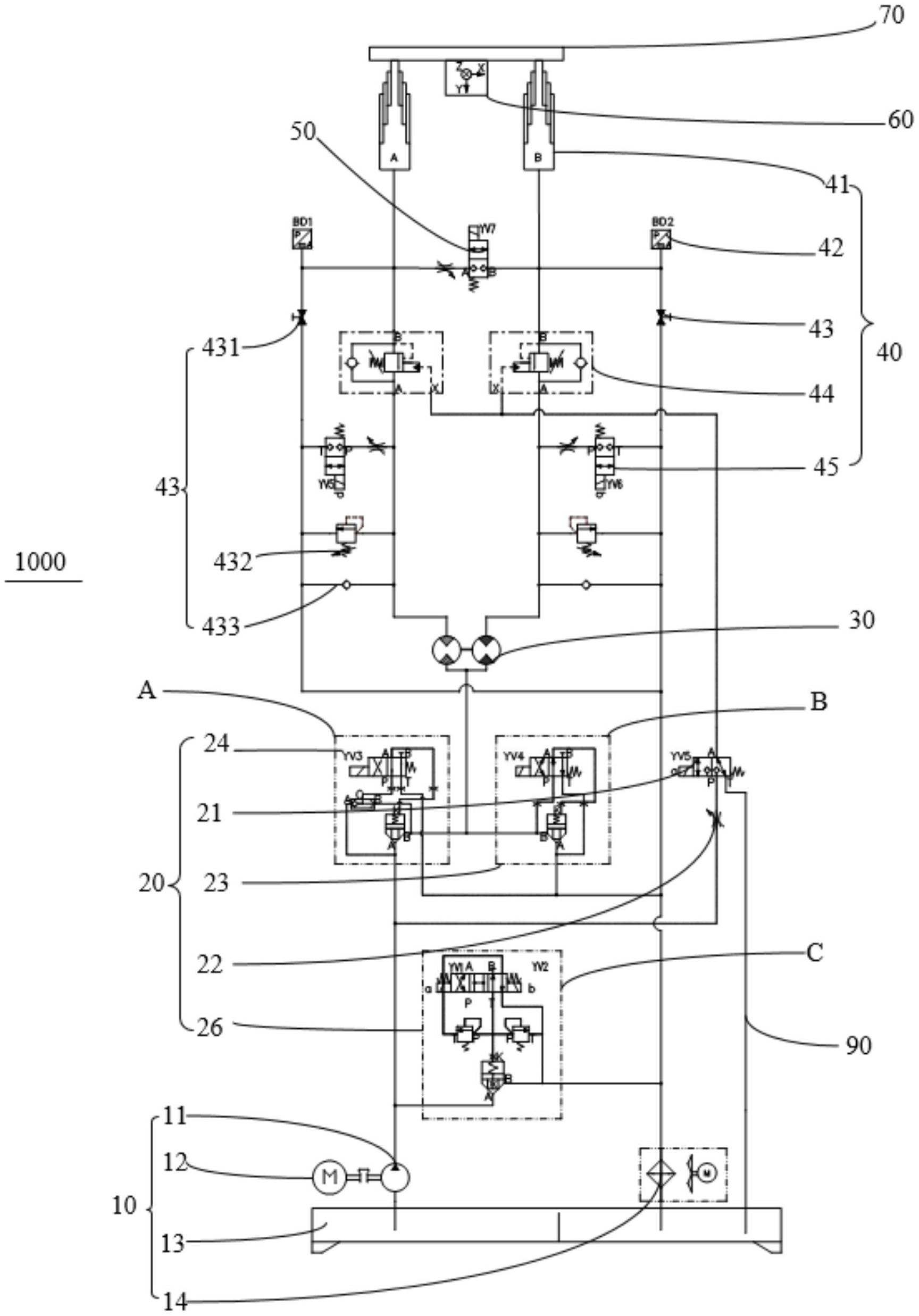
摘要
本实用新型公开一种顶升液压结构和顶升液压设备,其中,顶升液压结构,包括油箱组件、多个通油管路、翻转平台、同步马达、多个升降油路、控制阀组,连接多个所述升降油路的第一二位二通换向阀,本实用新型技术方案通过同步马达对出油组件与箱体组件输出的液压油进行均等分路,且分别进入到平衡阀内,配合第二二位二通换向阀,使得对油缸进行同步性调整,保证多个油缸实时升降一致,保证升降的同步性,在第一二位二通换向阀的作用下,保证了多条升降管路内的压力,实现不同油缸之间的压力补偿,消除两个油缸升降的累积误差,提高顶升的同步性,通过调控调压阀组,实现对压力的有效调控,使得机器在相应压力下工作,有效降低系统消耗。


