授权公布号:CN217471056U
一种太阳能自洁式杀虫灯
有效
申请
2022-06-27
申请公布
1970-01-01
授权
2022-09-23
预估到期
2032-06-27
| 申请号 | CN202221622023.2 |
| 申请日 | 2022-06-27 |
| 授权公布号 | CN217471056U |
| 授权公告日 | 2022-09-23 |
| 分类号 | A01M1/04;A01M1/22;B08B1/04;H02J7/35 |
| 分类 | 农业;林业;畜牧业;狩猎;诱捕;捕鱼; |
| 申请人名称 | 武汉市拜乐卫生科技有限公司 |
| 申请人地址 | 湖北省武汉市东湖新技术开发区珞狮南路517号明泽大厦1248室 |
专利法律状态
2022-09-23
授权
状态信息
授权
摘要
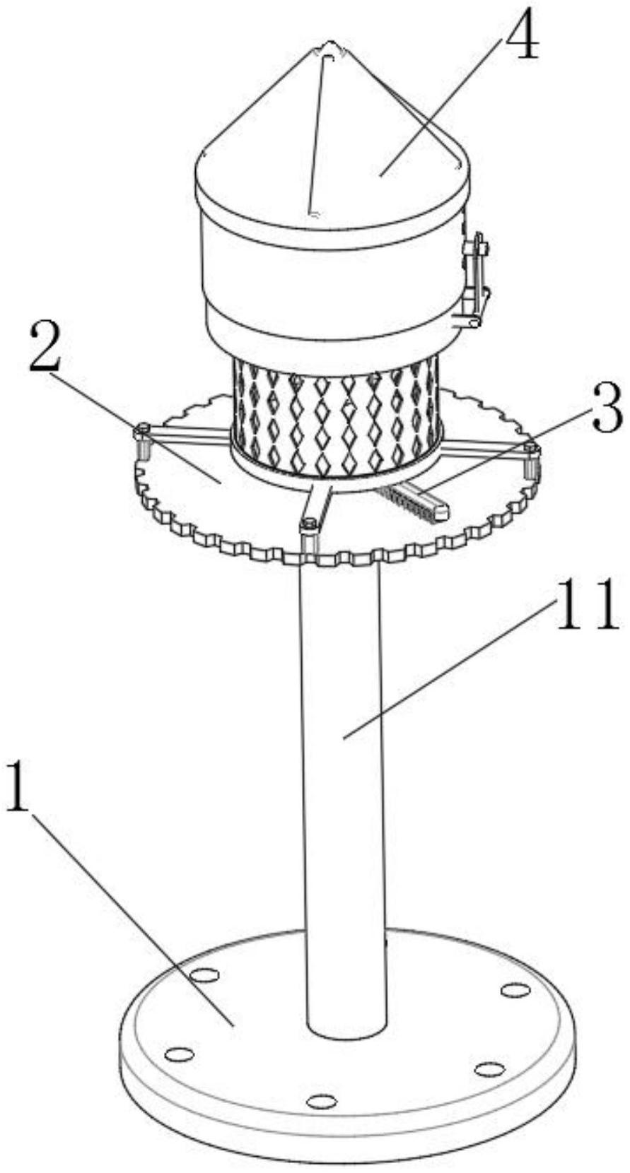
本实用新型公开了一种太阳能自洁式杀虫灯,具体涉及杀虫技术领域,包括底座,所述底座顶部设置有用于安装诱虫灯的固定组件,所述底座顶部固定连接有用于连接固定组件的支撑杆,所述支撑杆顶部与固定组件固定连接,所述固定组件底部设置有用于清洁蚊虫的清扫组件,所述清扫组件设置于支撑杆顶部,所述固定组件顶部设置有用于保护装置装置遮蔽组件,本实用新型中设置有清洁组件,电动机的输出端与连接杆固定连接,连接杆底部固定连接有多个用于清扫台面的扫毛,太阳能盖板底部外侧固定连接有用于安装伸缩环的套筒,套筒内壁与伸缩环表面滑动连接,可以自动清扫蚊虫,便于维护,伸缩环将电网笼罩,保护整体装置,防止雨水侵蚀,提高使用寿命。


