授权公布号:CN213380548U
一种CNC机床清洗球头
有效
申请
2020-10-30
申请公布
1970-01-01
授权
2021-06-08
预估到期
2030-10-30
| 申请号 | CN202022473961.8 |
| 申请日 | 2020-10-30 |
| 授权公布号 | CN213380548U |
| 授权公告日 | 2021-06-08 |
| 分类号 | B23Q11/00;B08B3/02 |
| 分类 | 机床;不包含在其他类目中的金属加工; |
| 申请人名称 | 威海威硬工具股份有限公司 |
| 申请人地址 | 山东省威海市高区初村镇昊山路 |
专利法律状态
2021-06-08
授权
状态信息
授权
摘要
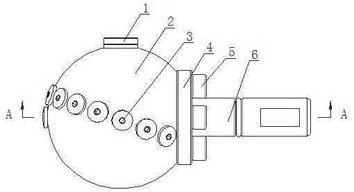
一种CNC机床清洗球头,涉及CNC机床清洗装置,包括与机床主轴配合相连的连接杆和中空的球头主体,连接杆前端与球头主体相连,连接杆中部设有前后贯通的清洗流道,清洗流道前端与球头主体内部连通,球头主体上由连接杆至其前端设有沿连接杆轴向排列的第一排冲洗孔,与第一排冲洗孔相对的球头主体另一侧上设有沿与连接杆轴向夹角20°‑25°方向排列的第二排冲洗孔。具有结构简单、操作方便,清洗效果好、污染小等优点。


