授权公布号:CN207404817U
玻璃美容剂用加注装置
有效
申请
2017-10-31
申请公布
1970-01-01
授权
2018-05-25
预估到期
2027-10-31
| 申请号 | CN201721432183.X |
| 申请日 | 2017-10-31 |
| 授权公布号 | CN207404817U |
| 授权公告日 | 2018-05-25 |
| 分类号 | B67C3/30 |
| 分类 | 开启或封闭瓶子、罐或类似的容器;液体的贮运; |
| 申请人名称 | 安徽省华凯轻工科技有限公司 |
| 申请人地址 | 安徽省蚌埠市怀远县经济开发区兴业路11号 |
专利法律状态
2018-05-25
授权
状态信息
授权
摘要
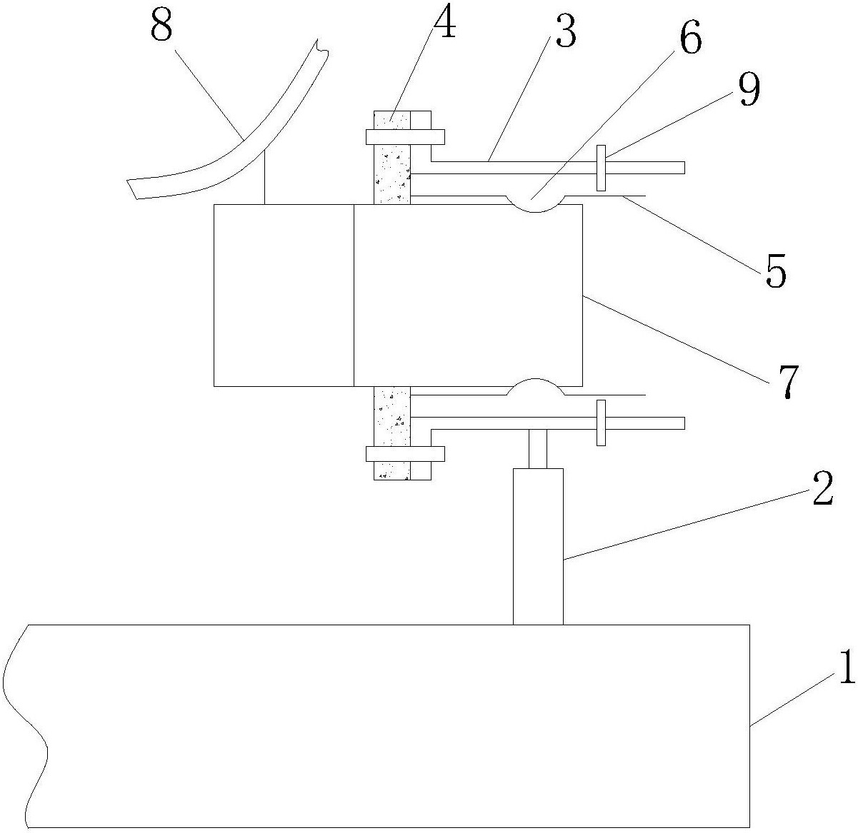
本实用新型涉及玻璃美容剂生产设备领域,具体涉及一种玻璃美容剂用加注装置,机台上设有电动推杆,电动推杆上安装有两端开口的螺纹套管,螺纹套管一端螺栓安装有带通孔的端盖,端盖上固定有伸进螺纹套管的弹性卡片,弹性卡片中部具有隆起,弹性卡片用于卡紧从端盖伸进的外壁具有与隆起对应的凹陷的插杆,插杆伸出螺纹套管的部分用于连接加注胶管,弹性卡片不伸出螺纹套管,螺纹套管上设有螺纹穿透螺纹套管管壁的螺纹杆。本实用新型将加注胶管安装在插杆上,然后将插杆插到螺纹套管内利用弹性卡片卡住,拆卸时直接往内螺旋螺纹杆使得螺纹杆抵着弹性卡片这样弹性卡片解除对插杆的卡合就可以方便的拆卸下插杆了。


