授权公布号:CN219647398U
一种清洗剂加工进料机构
有效
申请
2023-05-06
申请公布
1970-01-01
授权
2023-09-08
预估到期
2033-05-06
| 申请号 | CN202321066490.6 |
| 申请日 | 2023-05-06 |
| 授权公布号 | CN219647398U |
| 授权公告日 | 2023-09-08 |
| 分类号 | B01F35/71;B01F101/24N |
| 分类 | 一般的物理或化学的方法或装置; |
| 申请人名称 | 安徽省华凯轻工科技有限公司 |
| 申请人地址 | 安徽省蚌埠市怀远县经济开发区兴业路11号 |
专利法律状态
2023-09-08
授权
状态信息
授权
摘要
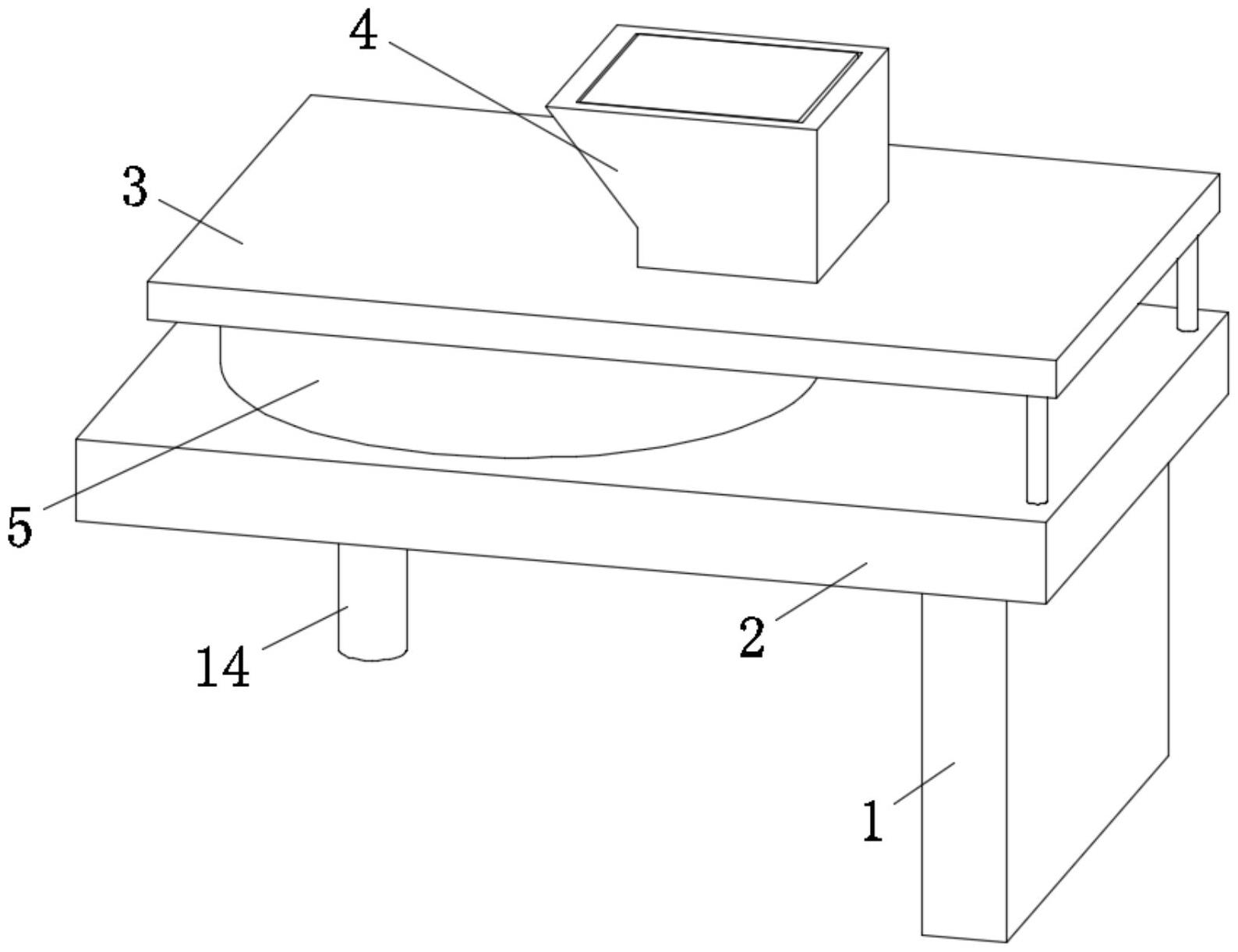
本实用新型公开了一种清洗剂加工进料机构,包括立板,所述立板顶部固定连接有安装板,所述安装板通过支撑杆固定连接有固定板,所述固定板顶部固定设置有进料斗,所述进料斗底部开设有出料口,所述安装板和固定板之间转动设置有转动块,所述转动块顶部和底部分别与固定板底部和安装板顶部抵紧接触。本实用新型通过电机和转动杆的配合使用,使得转动块进行旋转,使得进料槽便于与出料口和下料口对准,便于进行自动上料和自动下料,避免通过人工手动将回收杯中的物料倒入搅拌机构中进行上料,同时通过第一电动推杆、挡板、移动板和第二电动推杆的配合使用,对进料槽容积进行调整,从而调节下料数量,提高装置的适用性。


