授权公布号:CN210356137U
一种搅拌均匀的消泡剂加注装置
有效
申请
2019-07-11
申请公布
1970-01-01
授权
2020-04-21
预估到期
2029-07-11
| 申请号 | CN201921089443.7 |
| 申请日 | 2019-07-11 |
| 授权公布号 | CN210356137U |
| 授权公告日 | 2020-04-21 |
| 分类号 | B01D19/02;B01F7/24 |
| 分类 | 一般的物理或化学的方法或装置; |
| 申请人名称 | 安徽省华凯轻工科技有限公司 |
| 申请人地址 | 安徽省蚌埠市怀远县经济开发区兴业路11号 |
专利法律状态
2020-04-21
授权
状态信息
授权
摘要
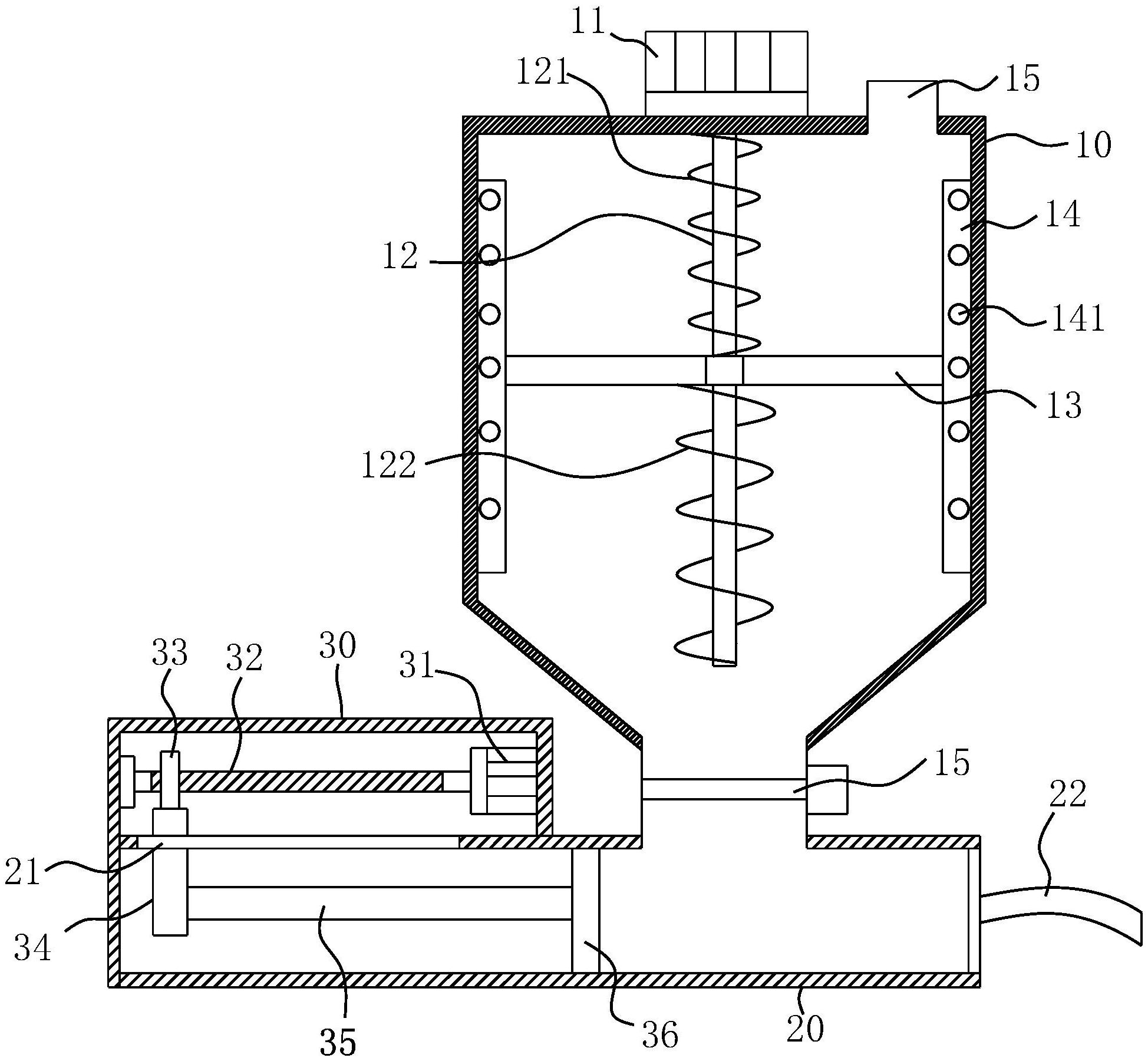
本实用新型公开了一种搅拌均匀的消泡剂加注装置,包括:进料箱,所述进料箱顶部设置有进料管,所述进料箱内设置有搅拌机构;加注管,所述加注管设置在所述进料箱的底部,且进料箱的出料端与所述加注管连通,所述加注管的右端设置有出料管,所述加注管的左端设置有加注机构;其中,所述加注机构包括设置在所述加注管左侧顶部的保护壳,所述保护壳右侧内壁设置有伺服电机,所述伺服电机的输出端设置有螺纹杆,所述螺纹杆的末端通过轴承座设置在所述保护壳的左端内壁,本实用新型结构简单,实用方便,能够将进入加注管内的消泡剂均匀搅拌,并且能够稳定的加注。


