授权公布号:CN117214024B
一种用于安全套的水性润滑剂的摩擦测试装置
有效
申请
2023-11-07
申请公布
2023-12-12
授权
2024-02-06
预估到期
2043-11-07
| 申请号 | CN202311465905.1 |
| 申请日 | 2023-11-07 |
| 申请公布号 | CN117214024A |
| 申请公布日 | 2023-12-12 |
| 授权公布号 | CN117214024B |
| 授权公告日 | 2024-02-06 |
| 分类号 | G01N3/56;G01N3/02 |
| 分类 | 测量;测试; |
| 申请人名称 | 北京大象和他的朋友们科技有限公司 |
| 申请人地址 | 北京市东城区广渠门内大街80号10层1002A |
专利法律状态
2024-02-06
授权
状态信息
授权
2023-12-29
实质审查的生效
状态信息
实质审查的生效;IPC(主分类):G01N3/56;申请日:20231107
2023-12-12
公布
状态信息
公布
摘要
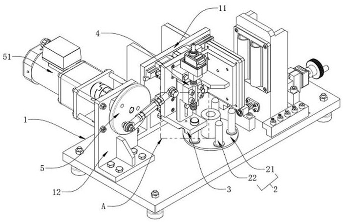
本发明涉及摩擦测试技术领域,公开了一种用于安全套的水性润滑剂的摩擦测试装置,包括底座,底座上安装有定位模具,定位模具用于套装安全套,底座上还安装有摩擦器,摩擦器用于对安全套的存料部进行摩擦测试,摩擦器的输入端安装有第一驱动机构,第一驱动机构用于驱动摩擦器沿竖向往复运动,第一驱动机构的输入端安装有第二驱动机构,第二驱动机构用于驱动摩擦器沿水平往复运动,本发明通过先测得未涂抹水性润滑剂的安全套在预设程度的摩擦下,得出安全套的耐磨参数,再通过测试涂抹了水性润滑剂的安全套在相同的预设程度的摩擦下,得出安全套的另一个耐磨参数,通过比较两个耐磨参数,进而获得准确度高的水性润滑剂自身的耐磨参数。


